O smartphonech se skládacími nebo ohebnými displeji se už nějakou dobu šušká. Dle několika zdrojů by takový smartphone měl být do konce roku představen Samsungem. Apple od dnešního dne rovněž vlastní další patent, jehož použití by mohlo znamenat, že se v budoucnu dočkáme iPhonů s ohebným displejem. Patent tak víceméně potvrzuje analytické zprávy z minulých měsíců, které právě příchod ohebného iPhonu předpovídají.
Mohlo by vás zajímat
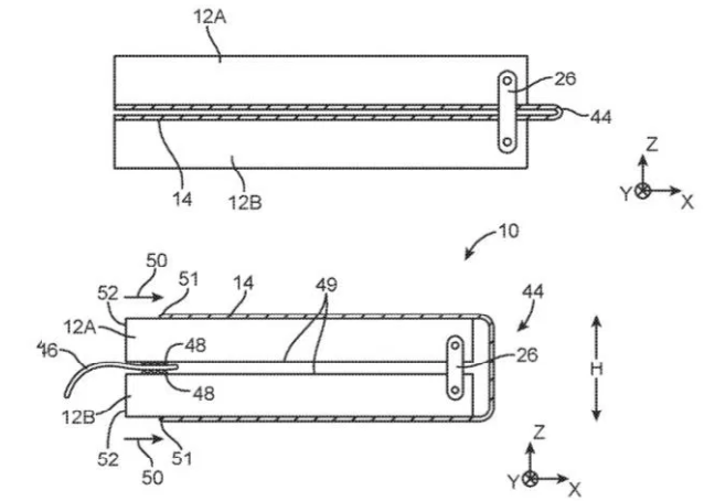
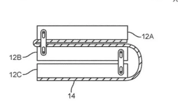
Patentová přihláška zveřejněná koncem minulého roku popisovala displej, který by bylo možno otevírat a zavírat jako knihu. Popis dnešního patentu je, jak už tomu velmi často bývá, srozumitelný snad jen pro autora patentové přihlášky. „Elektronická zařízení mohou obsahovat více pouzder. Jejich části mohou být spojeny panty, které mohou být tři, čtyři, se štěrbinami, z pružných nosných konstrukcí nebo založeny na flexibilních strukturách pouzdra samotného. Displeje mohou být pak namontovány na části pouzdra, které budou panty překrývat. Když se kryt ohne, ohne se i displej,“ stojí v popisu patentu.
Takhle vypadá patent v grafické podobě:
Patent zkrátka počítá se smartphonem, který bude disponovat jediným displejem s možností ohnutí v určitých místech. Koncept samotný je podobný jako v loňské patentové přihlášce, zde se jedná jen o konkrétnější popis způsobu provedení. Skládací smartphony už ale u androidí konkurence existují. Tuhle „vymoženost“ už představila společnost ZTE na svém modelu Axon M. Problém je v tom, že smartphone samotný se sice dá složit, disponuje ale dvěma displeji.
Jaký máte na tenhle potenciální trend názor? Líbil by se vám iPhone se skládacím displejem, nebo jste konzervativní a raději byste dali přednost pevné klasice?
přežitek
Budeme si donho skladat sunku a syr
…a potom sup s tim zapect do trouby ;)
supeeeer , You make my day :)
V prodeji již v roce 2120 😄
Nevím k čemu je to dobrý,nevidím v tom potenciál,ale třeba se pletu.
K čemu taková blbost
A kapsy budu tahat pomačkanej telefon jak papírovky, ne ? :D
Hlavně to ne ..
Zajimave bude jak se s tim poperou vyrobci ochrannych skel.
Tak to mě napadlo jako první taky. Dále pak, že to bude po nějakém čase asi plné mikrovlásečnicových škrábanců :-( Prvně jsem byl taky fanda skládacího mobilu a to dokonce ještě, než byly vůbec myšlenky na něj vypuštěny, někdo mi asi musel vlézt do hlavy a hurá, nápad byl na světě :-) Teď už mě myšlenky na skládací mobil opustili.
Proč si cpát do kapsy nějaký skládací bazmek, když můžu mít v báglu klidně NB, pokud potřebuji něco velkého. Jinak displej mobilu je OK. Mě plně vyhovuje XSko, chtěl jsem si koupit MAXe, ale nyní jsem rád, že jsem to neudělal, protože bych ho asi už prodával, či vyměňoval za menší XSko.
IPhonistů bych se radši na podobný názory neptal, většinou maj všechno špatně, viz výsměch Samsungu za Note kvůli velikosti a najednou blik cvak iPhone X je na světě!
Ty blikcvaku a co jak kdysi vysel iP5? Vsichni se mu smali za velikost, tvorili obrazky lightsaberu v podobe iPhonu a nakonec byl iPhone jeden z nejmensich telefonu na trhu :D
Dyť už to jsou aspoň čtyři roky co přišel Apple s ohebným telefonem :-) „BENDGATE“
Jedinou výhodu vidím že kdyby spadl tak se nerozbije ale jenom pokrčí :D
??? … Nechapem!Toto uz existuje predsa roky rokuce,vola sa to penazenka.
Tak to jo, pán je odborník :-D Ale vážně to tady už bylo, kdysi s tím přišla nokia, nebo MS, teď už si nevzpomenu. Ale je docela možné, že s první myšlenkou přišel docela někdo jiný. Osobně nevím, zda bych to chtěl/využil, nesnáším totiž mikroškrábance na displeji – vím, že nejdou nijak skoro vidět, jen v určitém úhlu při vypnutém displeji, ale už ten pocit, že nemáte displej OK :-( Ale kdo ví, třeba se budou dělat ohebné ochranné skla, nebo se budeme vracet k fóliím :-D Ale fólie by asi ohýbání moc nerozdýchala….