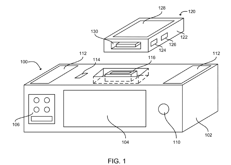
Apple získava desiatky patentov každý týždeň, ale len málo z nich sa rozhodne použiť u produktov, ktoré vyvíja. Medzi tieto patenty môže patriť napríklad technológia Touch ID alebo softvérové funkcie, ktoré sa neskôr stali súčasťou Logic Pro X aplikácie pre Mac. Spoločnosť však dnes získala patent na inteligentnú dokovaciu stanicu, ktorá by dokázala rozpoznať ľudský hlas a vedela by aktivovať hlasové funkcie zariadenia bez toho, aby ich musel užívateľ najprv aktivovať.
Jedná sa pritom o pomerne reálnu funkciu, keďže celý jej princíp je postavený na hlasovej asistentke Siri. To mimo iného potvrdzuje aj dátum, kedy Apple podal prihlášku – stalo sa tak 29. mája/května 2012, teda približne rok a pol dozadu. Patent, ktorý už vo svojom názve spomína Smart Dock, v skutočnosti imituje modernejší dock so vstavaným mikrofónom a reproduktorom, ktoré by slúžili práve na ovládanie hlasovej asistentky na telefóne iPhone, prehrávači iPod touch a dokonca aj na iPade. Funkcie dokovacej stanice sa aktivujú prakticky okamžite po tom, ako dôjde k pripojeniu kompatibilného zariadenia, čo do budúcna bude predstavovať produkty s Lightning konektorom.
Zaujímavosťou inteligentnej dokovacej stanice je aj to, že by podľa patentu mohla obsahovať aj zabudovaný displej, ktorý by s vysokou pravdepodobnosťou zobrazoval čas a dôležité notifikácie, ako napríklad zmeškané hovory či prijaté správy. Jednalo by sa navyše o dotykovú obrazovku, čo by vedeli užívatelia využiť pri ďalšej vlastnosti, ktorá sa v patente spomína. Inteligentný dock by bol funkčný aj v prípade, že by k nemu nebolo pripojené žiadne iOS zariadenie a dalo by sa využívať ako rádio. V patente sa tiež dozvedáme, že používateľ by musel najprv zadefinovať gesto, ktorým by aktivoval hlasové funkcie. Podľa patentu sa môže jednať o akýkoľvek zvuk, bez ohľadu na to, či sa jedná o hovorené slovo alebo o tlesknutie či lúsknutie prstom. Aktivačné gesto by sa uložilo do pamäte docku, ktorý by okamžite po pripojení iOS zariadenia aktivoval mikrofón a zaznamenával, či sa takéto gesto neozve. Zaujímavou vlastnosťou je, že nový dock je kompatibilný s externými HDD, rôznymi snímačmi či dokonca GPS modulmi.