Asi to znáte taky. Jdete si takhle po ulici s telefonem v ruce, najednou zavrávoráte a telefon vám spadne displejem přesně na tvrdou městskou dlažbu. Vy ho se zatajeným dechem sledujete a pomalu se jej bojíte zvednout, jestli na něm po tomto karambolu nevznikl nevzhledný „pavouk“ z prasklin skla. Pokud jste měli štěstí, poděkujete všem svatým a pokračujete v chůzi dál, v opačném případě však upadáte do deprese a hledáte nejbližší opravnu telefonů. Právě s druhou variantou by mohl být v budoucnosti alespoň částečně konec.
Mohlo by vás zajímat
Velmi zajímavá inovace
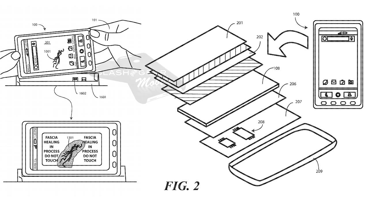
Společnost Motorola, která má podle mnoha lidí dobu své největší slávy už dávno za sebou, začala vyvíjet velmi zajímavou věc. Společnost využívá do svých telefonů displeje ShatterShield, které jsou prakticky nerozbitné. Jejich hlavní zbraň je v tom, že jsou plastové. Jistě, poškrábou se daleko snáz než sklo, při sebevětším nárazu se však úplně nezlomí a ani neprasknou tak, jako sklo. A právě této vlastnosti by chtěla společnost v budoucnu využít.
Motorole se totiž podařil získat patent, který výrobu displejů lehce modifikuje a dává mu vlastnost „paměťového“ polymeru. Z obyčejného displeje se tak rázem stává displej chytrý. Ten už se pak jen jednoduše zahřeje za pomocí vnitřních čidel telefonu a zázrak je na světě. Krystaly v displeji se rozhýbou a zaplní vzniklá poškození.
Telefon navíc rozezná sám, kdy je displej potřeba opravit a svého majitele na to upozorní. Ten neudělá nic víc, než že na telefonu potvrdí zahájení procesu opravy a telefon odloží. Vše ostatní už zvládne telefon sám.
Podle zpráv z útrob Motoroly má tato technologie zatím velmi dobré výsledky. Jedním dechem však přiznávají, že se zcela stoprocentního opravení ve většině případů zřejmě nedočkáme. Na mírnější škody je však tato technologie více než dostačující.
Těžko říci, jak se tato technologie v budoucnu prosadí. Pokud však najde své uplatnění a veřejnost ji příjme s nadšením, může se stát, že se někdy v budoucnu stane i součástí našeho nakousnutého jablka. Zatím však nepředbíhejme.
Zdroj: phonearena
??
dobrá kravina :D
Motorola bohužel neexistuje ?
Překlep?