Zavřít reklamu

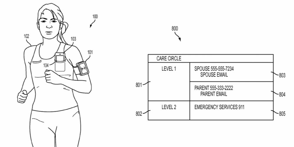
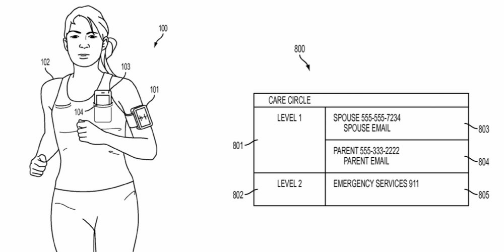
Nový patent Applu popisuje to, jak by mohly Apple Watch a iPhone společně detekovat srdeční infarkt a automaticky by vytočily záchrannou službu. Zatímco samotný popis nezmiňuje konkrétně Apple Watch nebo iPhone, význam jednoho elektronického zařízení spolupracujícího s druhým nám naznačuje, že to budou zrovna tyhle dvě.

„Výskyt jedné nebo více zdravotních událostí, je detekováno elektronickým zařízením pomocí sledování údajů o okolním prostředí a prostřednictvím uživatelských dat jednoho nebo více senzorů. Toto elektronické zařízení poté vysílá jednu nebo více událostí do dalšího zařízení.“

Apple říká, že tento systém by mohl objevit celou řadu mimořádných událostí a v důsledku toho zajistit příslušná opatření v závislosti na závažnosti, od zaslání e-mailu rodinnému příslušníkovi až po kontaktování záchranné služby.

„Událostí muže být například autonehoda, nehoda na kole, dále pak srdeční infarkt, cévní mozková příhoda, pokud se vám třeba ztratí dítě, ztratí se pacient s demencí, zasype vás lavina, stane se vám pád, přepadení, požár, nebo jakákoli jiná událost, na které potřebuje uživatel záchrannou službu, policii nebo hasiče.“

Mohlo by to fungovat na kombinaci náhlého pohybu, detekovaného pomocí akcelerometru, spojeného s měřičem srdečního tepu, čímž zjistí, zda se jedná o infarkt. Je zde riziko falešných poplachů a i na to patent myslí. Zařízení požádá uživatele, aby nějakým způsobem odpověděl, například pomocí hlasu nebo gesta, čímž si ověří zda jde o planý poplach nebo jde o opravdové nebezpečí.

emergency
apple-watch-heartbeat

*Zdroj: 9to5mac

Dnes nejčtenější

.