Zavřít reklamu

Spolu s koncom novembra 2012 a vydaním nových, dlho očakávaných iTunes 11 s radikálne upraveným užívateľským prostredím získala spoločnosť Apple ďalší patent, tentoraz z prostredia nabíjania zariadení. Patent, ktorý v priebehu tohto týždňa kalifornská spoločnosť získala, bližšie popisuje pravdepodobne funkčný model bezdrôtového nabíjania, aký by jedného dňa v prípade aplikácie mohol plne nahradiť káble a nové zariadenia by tak už naplno mohli využívať Wi-Fi synchronizáciu dát s počítačovou aplikáciou iTunes, predstavenú ako súčasť nových „features“ systému iOS 5.

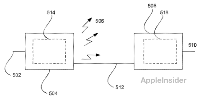
Nový patent s názvom „Wireless Power Utilization in a Local Computing Environment“ predstavuje nový praktický spôsob nabíjania batérii prenosných zariadení bezdrôtovo, prostredníctvom Near-Field magnetickej rezonancie (NFMR). Podľa patentu by takáto nabíjačka mohla vyžarovať elektrickú energiu pre všetky zariadenia nachádzajúce sa vo vzdialenosti maximálne jedného metru od nej, pričom by sa muselo jednať o zariadenia s veľmi nízkou spotrebou elektrickej energie, nie však o zariadenia vyžadujúce desiatky až stovky wattov.

patent 121129

Možnosť Apple popísal ako „realistický a praktický prístup k bezdrôtovému prenosu použiteľného množstva energie medzi zariadeniami vo vhodnej vzdialenosti“. Technológia by umožnila zdieľať energiu napríklad medzi myšou a klávesnicou, vďaka čomu by tieto zariadenia mohli „spolupracovať“ medzi sebou, pokiaľ by sa teda nachádzali blízko seba, čím by sa vytvorilo takzvané virtuálne nabíjacie pole. Tieto zariadenia by sa však museli najprv pripojiť k vysielaču prostredníctvom Bluetooth či Wi-Fi pripojenia, pričom táto stanica by musela byť pripojená k ďalšiemu, väčšiemu zdroju energie, napríklad Macbooku prostredníctvom portu USB.

Patent č. 20120303980 bol prvýkrát predložený 10. novembra 2010 a podpísali sa podeň Michael F. Culbert, Brett C. Bilbrey, David I. Simon a Peter M. Arnold. Spoločnosť Apple v priebehu tohto mesiaca však získala až 6 patentov, medzi ktorými nájdeme i zaujímavé, ako napríklad novú funkciu pre Logic Studio, krabičku transformovateľnú na docksluchátka, ktoré je možné premeniť na reproduktory.

patent 121129 2

*Zdroj: AppleInsider.com

Dnes nejčtenější

.