Zavřít reklamu

Když Apple v roce 2022 představil u iPhone 14 funkci Emergency SOS via Satellite, působilo to skoro futuristicky. Telefon bez signálu mobilní sítě, přesto schopný přivolat pomoc. Od té doby Apple funkci dál vylepšuje a podle všeho má větší ambice. Jenže fyzika je neúprosná.

Satelit na nízké oběžné dráze (LEO) přelétne z horizontu na horizont zhruba za sedm minut. Reálný čas, kdy na něj máte přímou „viditelnost“, je ještě kratší – záleží na terénu, stromech nebo zástavbě. iPhone vás sice na displeji navádí, kam zařízení natočit, ale anténa má omezenou plochu i výkon. Přenést lze jen omezené množství dat, než satelit zmizí.

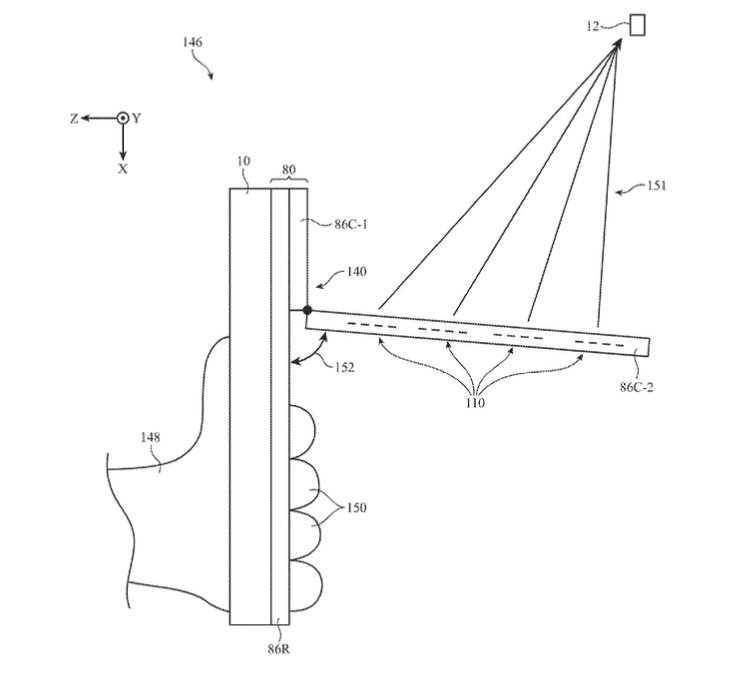
Právě s těmito fakty pracuje zajímavý patent Applu s názvem „Electronic Device and Case with Satellite Communication Capabilities“. Firma v něm popisuje obal, který by fungoval jako přídavná fázovaná anténa. Zjednodušeně řečeno: místo spojení s jedním satelitem by zařízení mohlo pracovat s celou skupinou a plynule přepínat, jak se konstelace pohybuje. V návrzích je vidět výklopný panel mířící k obloze, s vlastním vybavením pro tvarování signálu (beamforming). Apple dokonce řeší, aby ruka uživatele neblokovala signál – což je dnes reálný problém. Obal by mohl komunikovat s telefonem přes rádiový konektor nebo bezdrátově a výrazně zvýšit datovou propustnost.

66764 140015 001 satellite detail xl

 

Zní to jako cesta k plnohodnotnému satelitnímu internetu v iPhonu. Jenže má to háček. Dnes satelit funguje automaticky pro všechny uživatele, kdy když není mobilní signál, telefon nabídne řešení. Obal by znamenal, že si ho musíte pořídit a předvídat, že ho budete potřebovat. Ideál je samozřejmě mít všechno přímo v telefonu. Dokud to ale fyzika nedovolí, může být chytrý satelitní obal mezikrokem. A pokud se někdy vydáte do hor, vyplatí se vědět, jak současnou funkci použít ještě než ji budete opravdu potřebovat. A upřímně řečeno, kdybych věděla, že jdu do míst, kde můžou nastat problémy, speciální „satelitní“ obal bych si s sebou klidně vzala i za cenu dodatečné koupě.

 

Dnes nejčtenější

.