Zavřít reklamu

Když Apple na WWDC 2024 světu představil Vision Pro, zdůrazňoval tehdy, že pro jeho ovládání není třeba jakýkoliv ovladač. Vše se má totiž odehrávat pomocí očí, gest a hlasu. Jenže jak už to u Applu bývá, to, co firma říká navenek, nemusí nutně znamenat, že si v zákulisí nehraje s alternativami. A právě jedna z nově udělených patentových přihlášek naznačuje, že by se Apple Vision Pro mohl v budoucnu dočkat zařízení, které se nápadně podobá Apple Pencil. I když s tužkou, jak ji známe dnes, má společného možná jen tvar.

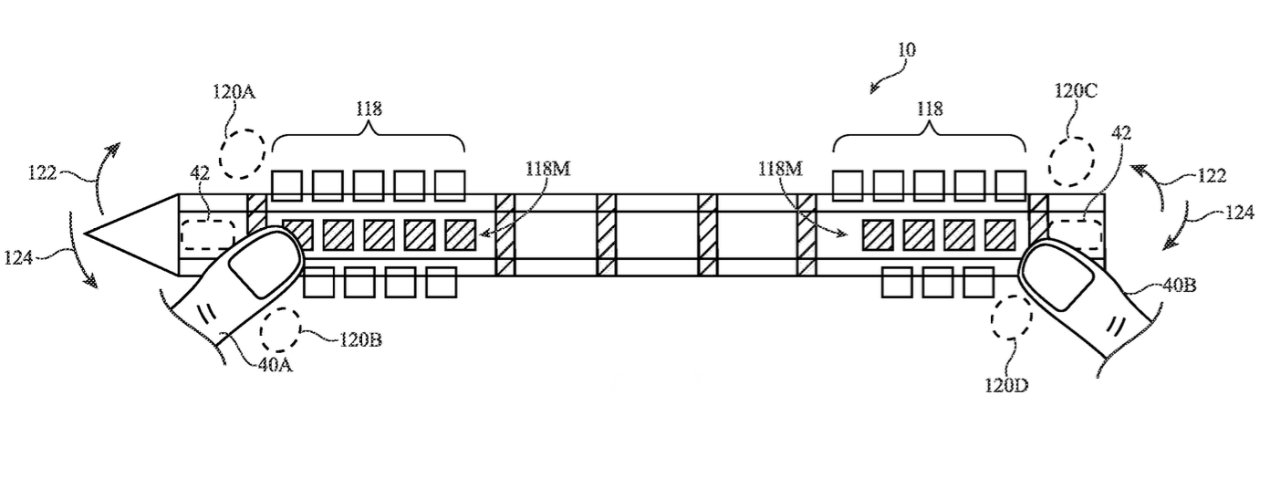
Patent s názvem „Computer System with Handheld Controllers“ popisuje zařízení, které Apple označuje jako ruční ovladač s podlouhlým tělem, připomínajícím fix, tužku nebo hůlku. Nejde ale primárně o nástroj na psaní či kreslení po displeji iPadu, ale spíš o univerzální ovladač, který by mohl sloužit jako fyzický doplněk k celé řadě zařízení od headsetu, přes telefon, tablet nebo notebook až po hodinky či chytré reproduktory. Jednalo by se tedy o ovladač, který by zapadl do ekosystému podobně přirozeně jako dnes Apple Pencil nebo AirPods.

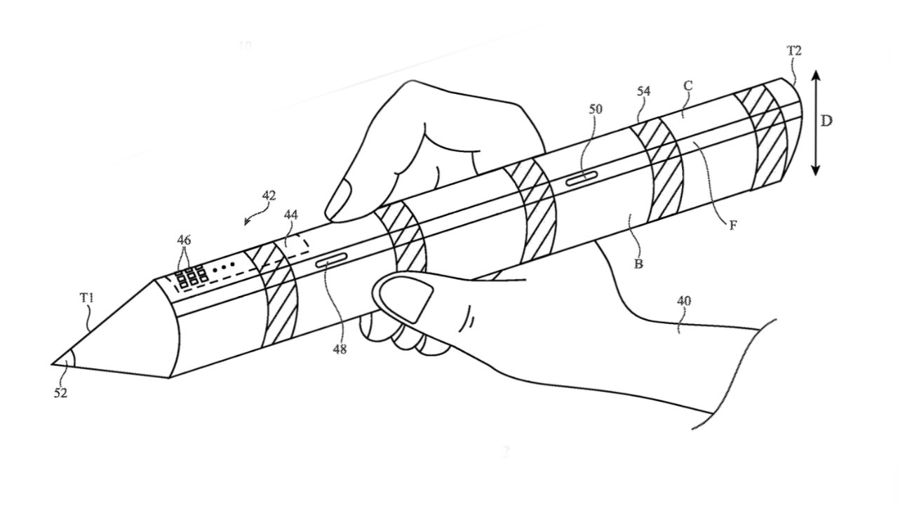
V kontextu Vision Pro je ale nejzajímavější část patentu věnovaná takzvané virtuální špičce. Ovladač by měl fyzické tělo, které držíte v ruce, ale samotná „špička“ by mohla být čistě virtuální a viditelná pouze pro uživatele s nasazeným headsetem. Apple v patentu mluví například o virtuálním štětci nebo obecně o počítačem generované hlavě nástroje, která se zobrazuje přes reálný svět. Jinými slovy, v ruce byste drželi něco jako tužku, ale v prostoru před sebou byste viděli třeba štětec, pero nebo jiný nástroj, se kterým pracujete ve virtuálním prostředí.

Uvnitř zařízení by se podle popisu nacházela celá řada senzorů. Konkrétně se zmiňuje například akcelerometr, který by snímal pohyby jako psaní, kreslení, máchání, rotaci nebo třeba třesení. Chybět by neměla ani bezdrátová komunikace a různé způsoby sledování polohy, včetně vizuálních markerů, které by mohl snímat externí optický senzor.

Jak už to u patentů Applu bývá, návrh je schválně hodně široký. Firma si kryje co nejvíc možností, aniž by to nutně znamenalo, že se podobné zařízení skutečně dostane na trh. Přesto je zajímavé, že většina ilustrací v patentu ukazuje poměrně robustní, až nezvykle tlustou „Apple Pencil“ s výraznou fyzickou špičkou. To jen potvrzuje, že nejde o klasickou stylusovou tužku, ale spíš o nový typ ovladače, který má v ruce dobře sedět a nabídnout přesnější kontrolu než samotná gesta. Nicméně vzhledem k tomu, že se jedná o patent, kterých si Apple registruje ročně tisíce, není vůbec jisté, že podobné zařízení v budoucnu dorazí, ač by bylo velmi zajímavé. 

 

Dnes nejčtenější

.