Zavřít reklamu

Apple už léta ladí Digital Crown u Apple Watch – ikonický ovládací prvek, který připomíná tradiční hodinky, ale zároveň slouží pro zoom, scroll či návrat domů. Nová patentová přihláška naznačuje, že firma zvažuje zásadní evoluci: korunku s dotykovými a světelnými senzory, která by mohla doplnit nebo částečně nahradit mechanické otáčení. Dokument „Crown for an Electronic Watch“ popisuje různé konstrukce, jež by z korunky udělaly chytrý snímací povrch citlivý na světlo, dotyk i gesto prstem.

Jak by fungovala korunka se světelnými a dotykovými senzory

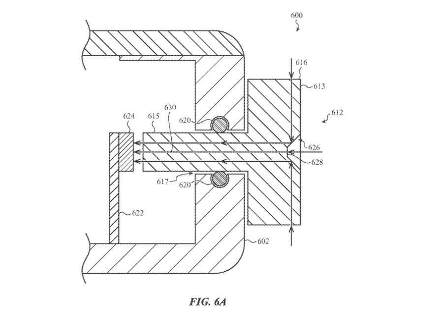
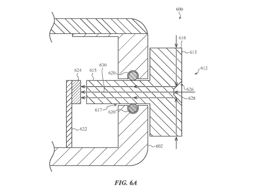
Namísto spoléhat se výhradně na fyzické otočení by budoucí korunka mohla obsahovat imaging surface – snímací oblast, přes kterou se do vnitřního senzoru směruje obraz toho, čeho se uživatel dotýká (např. kůže prstu). V patentu se zmiňuje light-directing struktura nebo „okénko“ v části korunky, přes které by šlo detekovat pohyb. Systém by analyzoval změny mezi více snímanými snímky a z nich odvozoval směr a rychlost gesta (např. posun prstu), čímž by simuloval scroll, aniž by se korunka nutně fyzicky otáčela.

Apple zvažuje i variantu, kde je korunka „rotationally constrained“ – tedy s omezeným či nulovým volným chodem. Uživatel by ji místo otáčení jednoduše hladil/posouval prstem. Detekce může fungovat na základě optických znaků kůže (struktura, póry, chloupky), ale reagovat má i na rukavici, stylus nebo jiný objekt.

Klíčovou roli může hrát světelně propustný člen s lomenou plochou, který směruje odražené světlo dovnitř senzoru pod úhlem umožňujícím totální vnitřní odraz. Patent počítá i s integrovaným zdrojem světla uvnitř hodinek, takže systém není závislý jen na okolním osvětlení.

Přesnost, menší opotřebení, víc místa uvnitř

Optická nebo dotyková detekce pohybu by mohla být jemnější a přesnější než čistě mechanické snímání. Zároveň by se snížilo opotřebení mechanických částí, které v čase trpí prachem, potem a tlakem. Apple také naznačuje, že pokud by nebylo nutné vést dlouhý otočný hřídel do útrob hodinek, mohla by být korunka kratší – a uvolněný prostor využit pro větší baterii, senzory zdraví nebo bezdrátové moduly.

34433 62102 001 Detail re light shaft xl

Ač patent explicitně mluví o hodinkách, Apple připomíná, že korunkové ovládání už používá i jiná zařízení (např. Vision Pro). Úspornější, opticky snímaná korunka by se tak mohla objevit i mimo Apple Watch.

Patent je připisován vynálezci Michaelu J. Beyhsovi z týmu Touch and Sensing Incubation v Německu. Jak už to u patentů bývá, neznamená to, že se technologie objeví v příští generaci – ale ukazuje, jak Apple přemýšlí: méně mechaniky, více chytrých senzorů, intuitivnější gesta.

Dnes nejčtenější

.