Zavřít reklamu
< >

Chytré prsteny Oura se dlouhodobě těší velké popularitě. V dohledné době by měl s vlastním chytrým prstenem pro sledování zdravotního stavu přijít i Samsung. Je tedy poměrně pochopitelné, že si s podobnou myšlenkou pohrává také cupertinská společnost. Kromě tohoto tématu bude v dnešním souhrnu spekulací řeč také druhé generaci Vision Pro nebo nových barvách iPhonu 16.

Apple vyvíjí chytrý prsten, chce konkurovat Samsungu

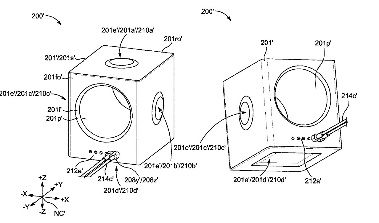
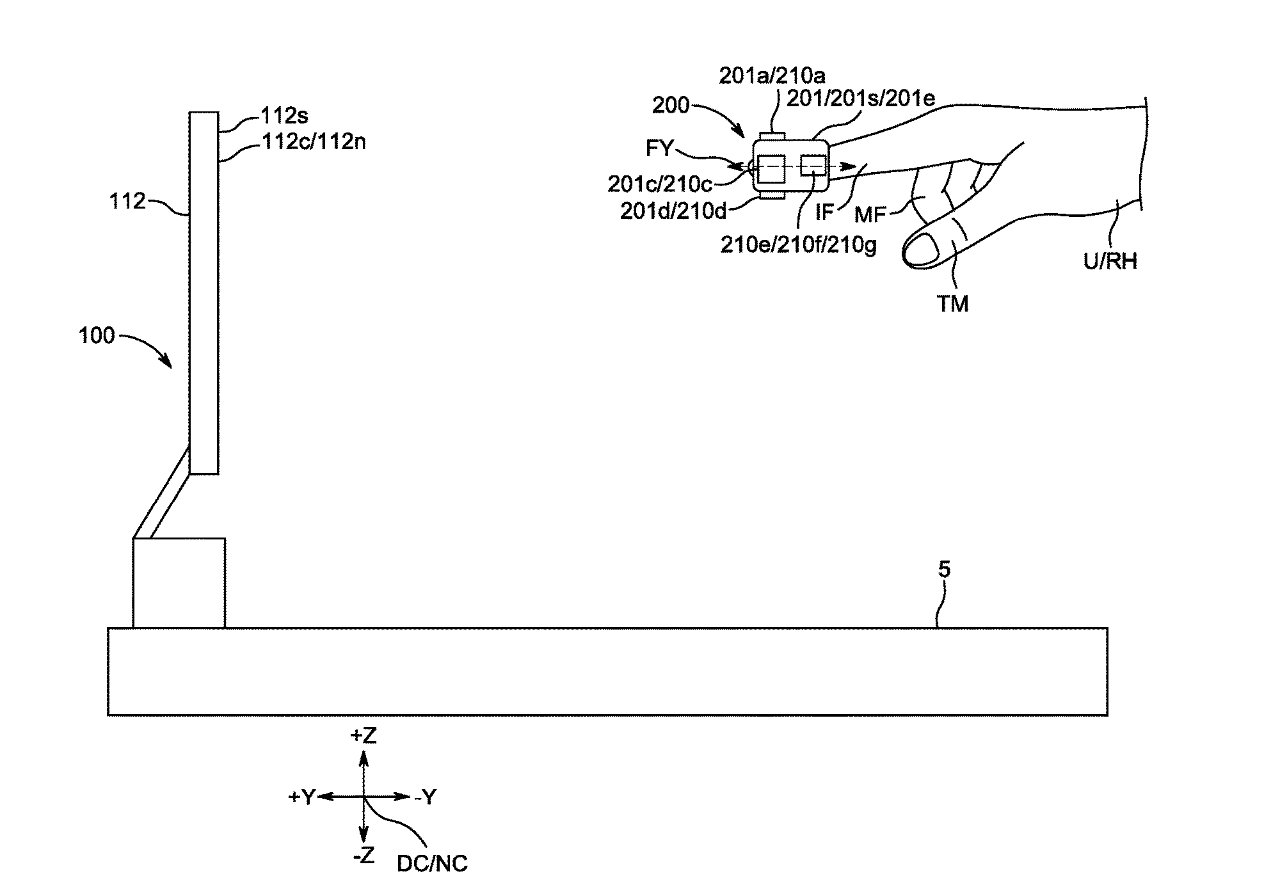
Apple podle posledních zpráv urychluje vývoj chytrého prstenu, s jehož pomocí lze sledovat zdravotní stav uživatele. Společnost Apple si s myšlenkou nositelného prstenu pohrává již několik let, jak naznačuje několik patentů, ale vzhledem k tomu, že se Samsung chystá uvést na trh vlastní produkt, mohl by nastat čas, aby jej Apple následoval s něčím, co ztělesňuje mantru generálního ředitele Tima Cooka „být nejlepší, ne první“. Společnost Samsung se svůj chytrý prsten se schopností měřit průtok krve nebo snímat EKG záznam chystá představit na letošním Galaxy Unpacked.

Druhá generace Vision Pro až za rok a půl?

Nejnovější zprávy z uplynulého týdne potvrzuje rozšířenou spekulaci o tom, že příští generace Apple Vision Pro by se mohla ocitnout na trhu až za rok a půl. Apple zatím vydal jeden headset pro smíšenou realitu, ale určitě se dá očekávat, že další hardware jistě přijde. Pokud se zvěst v nové zprávě ukáže jako pravdivá, pak by další generace mohla spatřit světlo světa v polovině roku 2025. Analytik Mark Gurman ve svém newsletteru Power On zmiňuje 18měsíční rozmezí mezi vydáním první a druhé generace Vision Pro, do dalších detailů už ale nezachází. Nespecifikuje ani, zda je jeho komentář založen na externích zdrojích se znalostí vývojových plánů, nebo na kvalifikovaném odhadu.

Dvě nové barvy iPhonu 16

Spekulace o budoucím iPhonu 16 nijak neustávají. V průběhu uplynulého týdne se na internetu objevily nové zprávy o plánech společnosti Apple ohledně nových barev. Podle nejnovějších spekulací Apple plánuje dvě nové varianty pro svůj iPhone 16 Pro: Titanium Gray a Desert Titanium.

Zprávu o dvou nových chystaných barevných variantách sdílel mimo jiné třeba také leaker Majin Bu. Varianta Desert Titanium by měla připomínat zlatou barvu iPhonu 14 Pro, zatímco verze Titanium Gray je popisována jako „odstín vesmírné šedi podobný tomu, který se používá u iPhonu 6“.

Dnes nejčtenější

.