Zavřít reklamu

Máme zde další zajímavý patent. Nutno ovšem říct, že patentová přihláška se datuje k roku 2020. Až nyní ale americký patentový úřad udělil společnosti Apple příslušný patent, jenž se jmenuje jednoduše „Dual Display Stand“. Text podrobně popisuje mechanickou konstrukci, která se snaží řešit nedostatky stávajících řešení s více displeji, a nabízí snadné a přesné nastavení až pro dva externí displeje.

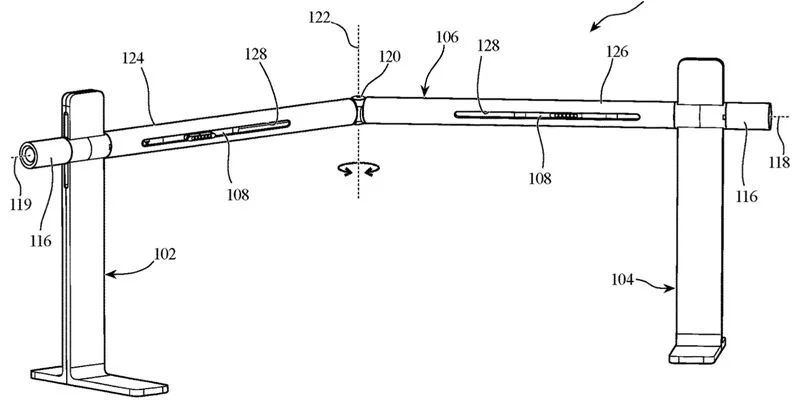
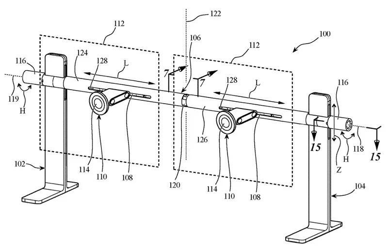
Grafická podoba patentu, kterou můžete nalézt v galerii na boku tohoto odstavce, vyobrazuje velký stojan se dvěma nohami, které jsou spojeny vodorovnou nosnou tyčí, na kterou by přišly dva monitory. Stojan by měl umožnit vysokou úroveň přesného nastavení a ovládání se stupni volnosti vertikální, horizontální a centrální rotace. Na první pohled se zdá, že stojan používá stejné pohyblivé klouby jako stávající stojan Pro Stand pro Studio Display a Pro Display XDR. Středový kloub na nosné tyči pak umožňuje stojanu nastavit úhel mezi displeji. Madla na každé straně by měnila výšku nosné tyče. Tento patent je svým způsobem velmi zvláštní, neboť je na poměry Applu nebývale konkrétní. Avšak ani to neznamená, že někdy v budoucnu něco podobného uvidíme. Poslední slovo bude mít jako vždy Apple. Jak se vám patent zamlouvá?

Dnes nejčtenější

.