Apple si během každého roku zaregistruje stovky různých patentů, většina z nich je ale spíše nezajímavých a ani nemá cenu se o nich nějak zmiňovat. Čas od času se ale naopak objeví nějaký zajímavý patent, který hovoří o určité funkci, technologii či změně, která by se bez problémů mohla objevit v některém z budoucích produktů od Applu. Jeden takový patent se objevil nedávno a konkrétně v něm kalifornský gigant hovoří o zvýšení voděodolnosti jablečných telefonů a s tím spojenými problémy s tlakem.
Mohlo by vás zajímat
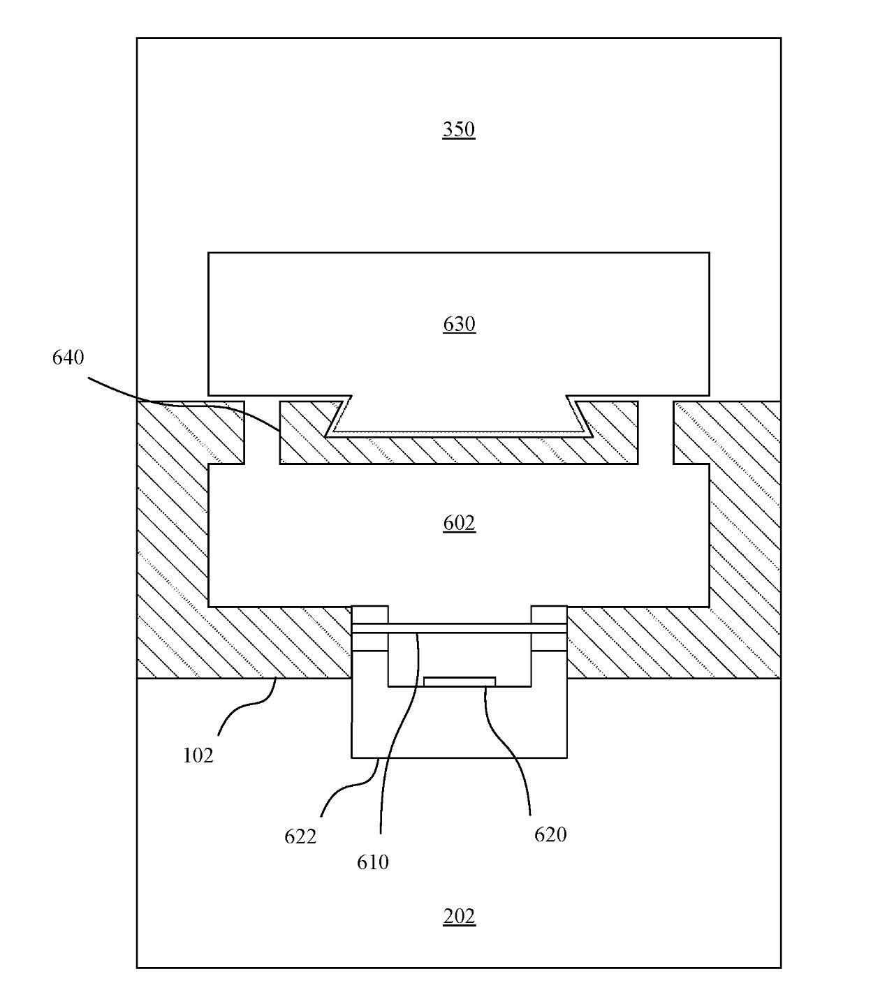
Ve zmíněném patentu Apple uvádí, že výrobci chytrých telefonů postupně přichází s robustnějšími zařízeními, které mají za úkol jediné – bez problémů vydržet každodenní život uživatelů. Z toho důvodu se u iPhonů například začala využívat temperovaná skla a namísto plastových součástek jsou využívány kovové. Mezi jednu z posledních inovací patří odolnost proti vodě, která je taktéž klíčová a každým rokem se lepší. Aby mohl Apple u jeho telefonů přijít s dobrou odolností proti vodě, tak musel v roce 2016 odstranit sluchátkový konektor, čímž docílil toho, čeho potřeboval. Jenže každá akce způsobuje reakci a Apple v patentu dále uvádí, že odstraněním konektorů sice získají uživatelé lepší voděodolnost, na druhou stranu ale může přijít problém s tlakem.
Do budoucna se tak nějak počítá s tím, že dojde ke kompletnímu uzavření a utěsnění iPhonu. Ten tak získá kompletní vodotěsnost, je ale nutné počítat s tím, že v útrobách zařízení tímto začne vznikat rozdílný tlak, který by mohl například negativně ovlivnit různé senzory, popřípadě by mohl způsobovat vytlačování displeje a mnoho dalších problémů – vnitřní tlak by se totiž snažil vyrovnat s vím venkovním. Z toho důvodu je nutné se zamyslet nad tím, jak zajistit, aby bylo v budoucnu možné tlak uvnitř zařízení vyvažovat. I když se to může zdát jako banalita, tak ve skutečnosti se jedná o vážné téma, o kterém je rozhodně nutné přemýšlet s velkým předstihem.
A jak tedy problém s rozdílným tlakem vyřešit? Primárně by se samozřejmě musel do útrob iPhonu nainstalovat tlakoměr, který by získával přesná data. K vyvažování tlaku by pak podle informací v patentu měl Apple vytvořit jakýsi ovládaný otvor v nabíjecím konektoru, který by se při vyšším vnitřním tlaku mohl otevřít, čímž by došlo k vyrovnání. Zároveň by bylo možné tento otvor nejspíše využít také pro chlazení zařízení, jelikož kromě rozdílných tlaků by po utěsnění zajisté vznikaly také vyšší teploty. Když se nad tímto patentem zamyslíte z úplně jiného úhlu, tak z něj lze vyčíst to, že se Apple v budoucnu rozhodně bude snažit právě o zvýšení voděodolnosti jablečných telefonů, popřípadě dost možná o příchodu kompletní vodotěsnosti.
Prečo? Nikdy som žiadny iPhone neutopil a ani som sa so žiadnym nepotápal… Keby sa tak zamerali na iné veci v ktorých je Apple míľovými krokmi pozadu…
Dokud na se na vodeodolnost nebude plne vztahovat zaruka a iPhone nesnese i morskou vodu, bude to jen stale telefon do deste.
presne…ale toho sa aj tak nedočkáme. To hlavné čo je treba zmeniť a v čom sú pozadu tak to ich evidentne nesere vôbec. Najprv sa bránili že nebude žiadne usb c a že bude bezkonektorovy telefon a zrazu zmena? Ked to vedeli uz nazaciatku ze tam bude usb c tak na co cakali? Kedy si som nedočkavo čakal na každe predstavenie nového iphonu, ale už to pomaly pre mňa začína byť len predražena nokia 3310 ktora nič neponúka noveho, chváli sa svojou uzavretostou systemu ktory umyselne aktualizaciami rozmrdava aby nutila zakaznikov ku kupe dalsieho