Apple Watch jsou opravdu designově povedeným kusem příslušenství. Poměrně často ale můžeme slyšet volání po redesignu, a to i třeba za cenu kulatého ciferníku, což si dnes málokdo po těch letech s hodinkami od Applu dokáže představit. Možná ale i takové hodinky společnost časem představí, jelikož vlastní patent o Apple Watch s kulatým ciferníkem, flexibilním displejem a digitálně přizpůsobitelným páskem hodinek.
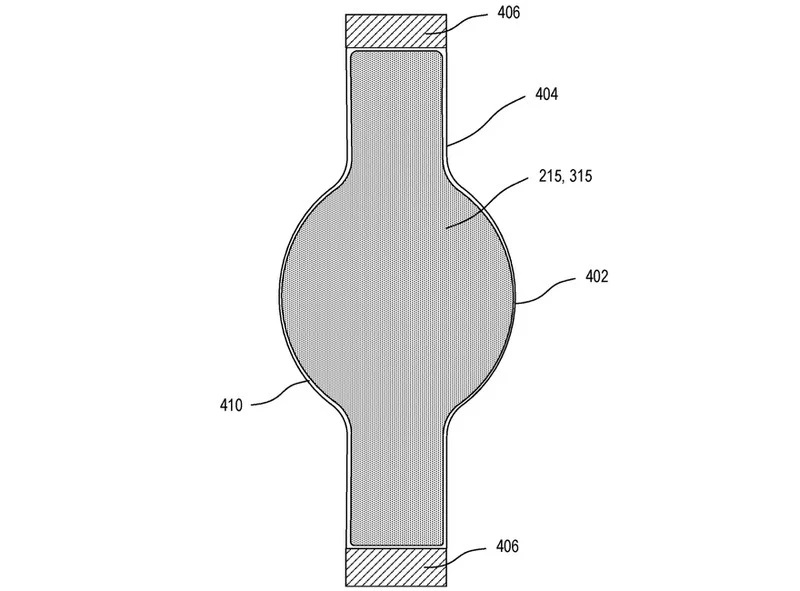
Patentová přihláška má konkrétně název „Display Module and System Applications“. Text patentu je jako obvykle opravdu velmi zmatený a nejednoznačný. Hovoří ovšem o ohebném kulatém OLED displeji, který by se přizpůsobil velikosti zápěstí uživatele. Třešničkou na dortu by pak byla absence rámečků, jejichž velikost by ale mohla být uživatelem volitelná, a to od žádných až po například 5 mm rámečky, což by mohli ocenit především lidé s větším zápěstím. Uživatel samozřejmě může zvolit jiný design ciferníku, umožnit spravovat pásmo displeje „pod a nad“ ciferníkem a docílit na svých hodinkách naprosto unikátního vzhledu. Podíváte-li se na grafickou podobu patentu na boku odstavce, jistě si na první pohled všimnete, že zde chybí ikonická digitální korunka. O té vypovídá samostatný patent s názvem „Kapacitní mezerový senzorový prsten pro vstupní zařízení“. Hodinky by tak mohly disponovat kapacitními prstenci zabudovanými do šasi.
Patent na první pohled zní naprosto skvěle a nějak takto bychom si mohli představovat Apple Watch budoucnosti. Je třeba ale dodat, že se jedná pouze o patent. Nelze jej tedy bez dalšího brát jako záměr společnosti. Na každý pád nám patenty nabízí skvělý pohled na uvažování Applu nad jeho produkty. Líbily by se vám takové Apple Watch?
- Apple produkty můžete zakoupit například na Alze, Mobil Pohotovosti či u iStores
Tak to je super. Na to počkám :D
Hlavně tlak a cukr by Nebyl taky spatnej
Cukr v krvi se měří pomocí pár kapek krve odebraných například z prstu. To asi hodinky přes senzor na zápěstí težko udělají.
To jo . Ale o tom ze Apple o tom mluví již několik let. Třeba to nikdy nebude ale neinvazivní měření by bylo one more thing . Tlak se taky měřil manželku na zápěstí nebo paži a samsung a jiní to již mají … uvidme
Už to nebude vypadat jak hodinky s kalkulačkou od Vietnamců z osmdesátých let.
V tom případě bych se porozhlédl jinde. Kulatý tvar je pro hodinky skrz na skrz nepraktický, protože když čtete notifikaci, chybí vám u textu všechny “rohy”. Stejně tak při scrollování nějakým seznamem atp. Čili zvítězil by design nad funkcí. Doufejme, že tuhle zhovadilost nikdy neudělají.
Kulatý design k hodinkám patří o tom žádná, ale z praktického hlediska u smartwatch k ničemu. Za mě bych u apple neměnil.