Zavřít reklamu

Téma AR brýlí od Applu se poslední dobou skloňuje čím dál častěji ve všech pádech. Jeden z patentů, který si společnost Apple nechala v této souvislosti zaregistrovat, naznačuje možnost odemykání všech Apple zařízení právě za pomoci těchto brýlí.

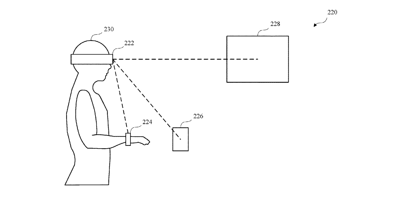
V patentu, který byl Applu schválen tento týden, je popsaný podobný způsob odemykání Apple zařízení, jaký například známe v případě odemykání Macu za pomoci Apple Watch. Odemknout iPhone, iPad nebo Mac sice nezabere příliš času, pokud máte ale takových zařízení více najednou, jistě uvítáte možnost snazšího a rychlejšího odemykání. Ve zmíněném patentu sice není ani slovo konkrétně o Apple Glasses, píše se v něm ale o „autentifikované náhlavní soupravě“, s jejíž pomocí by bylo možné odemykat další Apple zařízení. Klíčovým prvkem je v tomto případě stejně jako u Apple Watch přiblížení.V popisu patentu dále najdeme také zmínky o “ověřeném zařízení, umístěném na hlavě”, přibližovacím zařízení, schopnosti detekce blízkosti daného ověřeného zařízení i o schopnosti identifikace uživatele na základě dat, pocházejících z ověřeného zařízení. Způsob, jakým je v novém patentu popsán systém odemykání a ověřování, je jako obvykle krkolomný a poměrně složitý. Vyplývá z něj ale, že podobně jako v případě odemykání za pomoci Apple Watch se uživatel bude moci sám rozhodnout, zda bude chtít náhlavní soupravu používat k odemykání dalších zařízení. Za pozornost stojí také zmínky o prostorové orientace, hlasovém ovládání a gestech. Počátky samotné patentové žádosti sahají do dubna roku 2019.

O tom, jak by mohlo vypadat budoucí AR zařízení od Applu a co všechno by mělo umět, toho zatím příliš mnoho nevíme. Podle některých spekulací by Apple mohl v budoucnu přijít se dvěma typy AR zařízení – klasickou náhlavní soustavou, připomínající brýle pro virtuální realitu, a s chytrými brýlemi.

 

Dnes nejčtenější

.