Zavřít reklamu

Ačkoliv chytré hodinky Apple Watch pochopitelně disponují plnhodnotným Wi-Fi připojením a poměrně silnou anténou, Apple neváhá a snaží se neustále nacházet nová řešení, která konektivitu vylepší a zajistí efektivnější signál. Jablečná společnost chce zároveň snížit nutnost mít po ruce iPhone a hodinky co nejvíce osamostatnit, čehož se snaží docílit nejen pomocí vlastního App Storu, ale právě i anténou, která by byla uschována přímo v displeji. Na tento koncept se pak zaměřil nejnovější patent, kde Apple rozebírá výhody a popisuje technické detaily toho, jak by podobná technologie mohla fungovat.

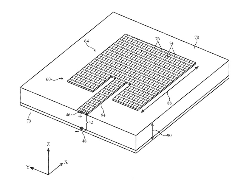
Řešení antény přímo v displeji sice může znít po technické stránce poněkud kostrbatě a neprakticky, avšak jablečná společnost přišla s metodou, díky níž by bylo uložení poměrně jednoduché a docílit by ho šlo pomocí vodivého materiálu, který by byl ukryt přímo pod obrazovkou. Dosud se totiž anténa nacházela v rohu zařízení, kde přijímala signál a zároveň nebránila ostatním senzorům, zejména monitorujícím zdraví, v jejich správné funkci. Signál nicméně není nejlepší a například oproti iPhonu nezvládne takový nápor jako standardní přenosná zařízení v podobě smartphonů. Díky umístění pod displejem by tak bylo možné konstrukci rozvrstvit po celé ploše a zároveň zajistit větší vodivost, což by přispělo k lepší konektivitě.

Zároveň však podobná technologie nesmí narušit fungování displeje jako takového a znemožnit uživateli komfortně a intuitivně zařízení ovládat. Naštěstí lze ale i tento nedostatek vyřešit pomocí jednoduchého řešení, a to několika vrstev, které by se navzájem překrvaly. Stačilo by tak umístit anténu do nejspodnější vrstvy, na ni pak napasovat standardní senzory dotyku a ztenčit je natolik, aby nebylo nutné jakkoliv upravovat velikost obrazovky. Patent se však nevztahuje výhradně na Apple Watch, využití by podobná technologie mohla mít i ve sluchátkách, iPadech a dalších zařízeních, kde je využití Wi-Fi zásadní. Apple se sice přímo nezmiňuje o tom, jak moc by tato alternativa signál vylepšila, ale vzhledem k technickým specifikacím se dá očekávat, že by se takřka vyrovnala iPhonu. Uvidíme, zda se jablečná společnsot nakonec rozhodne po tomto odvážném nevyzkoušeném konceptu sáhnout.

Dnes nejčtenější

.