Zavřít reklamu

Už je to pár mesiacov, čo sa špekuluje o tom, že Apple pracuje na svojej vlastnej virtuálnej realite. Predsa len technológia dnes zažíva boom a na trhu sa už dajú zohnať veľmi zaujímavé doplnky, ako napríklad 100-eurový Gear VR. Čoskoro sa tiež má dostať do predaja Oculus Rift, PlayStation VR. Medzitým sa Microsoft vydal iným smerom a kým ostatní sa spoliehajú na virtuálnu realitu, Microsoft vidí obrovský potenciál v realite rozšírenej a svoju víziu prezentoval v podobe HoloLens, ktorý si môžu vývojári kúpiť už teraz, bohužiaľ za cenu okolo 3000€. Najnovší patent Applu však naznačuje, že spoločnosť by mohla pracovať na podobnom produkte a narozdiel od desiatok iných patentov, tento môže byť napokon produktom, ktorý sa dostane do predaja. Predsa len Apple začal v uplynulých mesiacoch zamestnávať expertov z oblasti VR a AR (Augmented Reality).

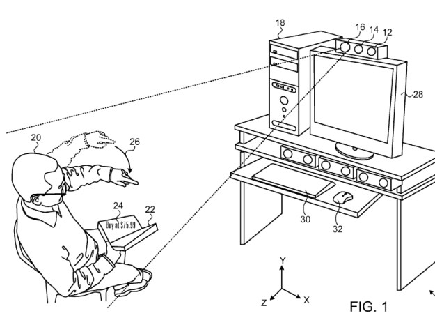
Nový patent naznačuje, že technológia by fungovala na princípe, ktorý by kombinoval schopnosti HoloLens a senzoru Kinect. Jednalo by sa totiž o projektor, ktorý by ste mali pripojený k svojmu iOS zariadeniu a ten by vytváral hologramy v takej podobe, že by ich videli všetci, ale naďalej by bolo treba mať na očiach nasadené okuliare tak, ako dnes. Samozrejmosťou by bolo potom mapovanie interiéru domu a podľa toho by sa vaša „domáca“ realita rozšírila. Okrem toho by technológia rozpoznávala povrchy a určovala by, ktoré sú vhodné na zobrazenie virtuálnych objektov. Rozšírená realita by potom podľa patentu mohla ponúknuť ľuďom možnosť nakupovať obsah z iTunes, či už sa jedná o knihy alebo o hudbu. Cena by sa potom zobrazil na stene vášho domu, pričom by mohlo ísť o podobnú funkcionalitu ako v službe Groove Music, ktorá by mala byť taktiež dostupná v HoloLens. Či Apple zrealizuje svoje nápady, to ešte uvidíme, ale už teraz má k dispozícii technológie firmy PrimeSense, ktorá stála za technológiou, ktorú využíva Xbox Kinect. Práve túto firmu Apple odkúpil.

Apple Augmented Reality Patent
HoloLens

*Zdroj: BGR

Dnes nejčtenější

.