Zavřít reklamu

Apple si podal přihlášku u The U.S. Patent and Trademark Office o patent, který by umožňoval použít palivové články pro napájení MacBooků, jenž by díky tomu vydržely bez připojení k elektrické energii několik dnů až týdnů. Patent byl zveřejněn jen krátce poté, co se začalo spekulovat, že Apple spolupracuje s britskou společností na vývoji palových článků pro baterie v iPhonu 6, které by napájely telefon po několik týdnů.

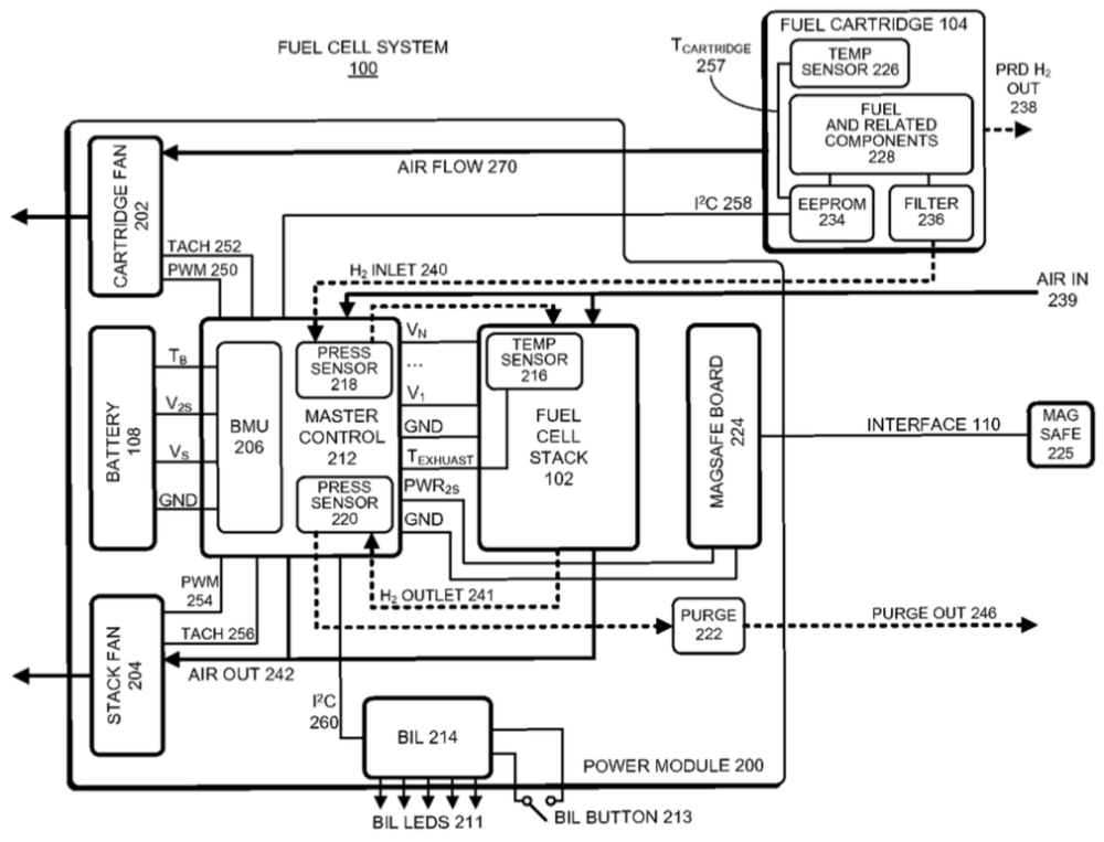
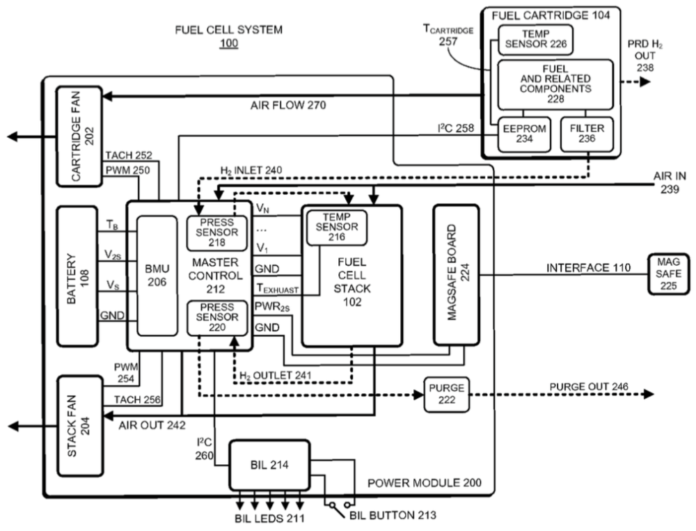
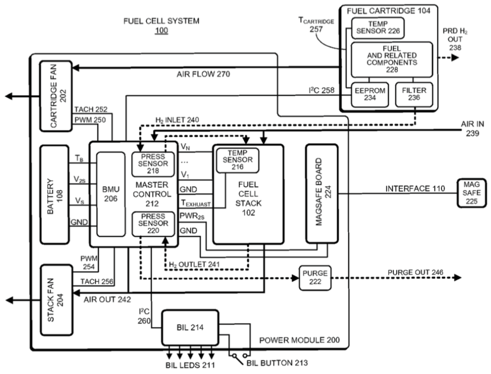
Patent je popsán tak, že se týká všech přenosných zařízení, ale pokud se na diagram níže zahledíte pořádně, tak si zajisté všimnete, že jako napájecí konektor je uveden MagSafe, což nám jasně naznačuje, že se jedná o patent pro MacBook, i když se občas spekuluje, že Apple od MagSafe opustí a nabídne jen USB-C respektive Thunderbolt 3.

Nejpravděpodobnější možnost je, že Apple skombinuje jak běžné baterie, tak palivové články, které by umožnily dobít baterii MacBooku, tudíž byste jej nemuseli připojovat k nabíječce několik dnů až týdnů a klidně byste mohli naplno MacBook využívat.

Jako obvykle však není známo, jestli Apple tuto technologii do svých zařízení implementuje a jestli patent doopravdy využije. Apple si nechal patentovat spousty zajímavých funkcí nebo metod, ale využil z nich jen několik. Nyní ale všichni doufáme, že právě tento paten využit bude, což nám naznačuje i spolupráce se zmíněnou společností.

fuel-cell

OLYMPUS DIGITAL CAMERA

Dnes nejčtenější

.