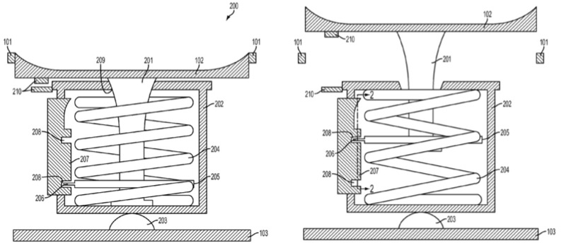
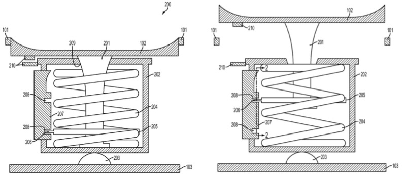
Apple už dávnejšie vyhlasoval, že iPod touch je najpopulárnejším herným iOS zariadením a ako sme mohli neskôr sami vidieť, Touch pomaly prestal stavať na pôvodnom koncepte. Piata generácia totiž dostala kvalitný fotoaparát aj s LED bleskom a taktiež nechýbalo pútko iPod touch loop, aby ste mali fotoaparát vždy po ruke. Najnovší patent však ukazuje, že z iPodu by mohla vytŕčať aj ďalšia vec, konkrétne Home Button s Touch ID. Nie, nie je to o tom, že si Jony Ive zmyslel, že už tak tenký iPod treba spraviť ešte tenší. Je to skôr o tom, že by sa Home Button dal vysunúť a používal by sa ako herný joystick, ktorý by ste mali vždy po ruke a zjednodušil by vám hranie Fify 15 a ďalších hier.
Samotný patent zobrazuje iPod touch, ale nie je vylúčené, že by sa tento mechanizmus mohol v budúcnosti stať súčasťou iPhonov a iPadov, kde by pri silnejšom stlačení Home Buttonu toto tlačidlo vyskočilo zo svojho miesta a ostalo by vysunuté a bolo by s ním možné pohybovať ako s joystickom na PSP. To isté stlačenie by následne umožnilo vrátiť tlačidlo späť do svojej pôvodnej polohy. Apple navyše v patente uvádza, že si je vedomý toho, že niektorí hráči používajú svoje iOS zariadenia ako prenosnú konzolu namiesto PS Vity a toto riešenie by mohli prijať ľudia, ktorí si kvôli hraniu nechcú kupovať dodatočné príslušenstvo, ako napríklad MFi ovládače. Apple si zaregistroval patent cez leto 2013, čiže v čase uvedenia podpory MFi ovládačov, ktoré je možné používať na hranie hier na iOS 7 a novších.
Zbytečnost
Na hovno
Pokuď by to bylo pro iPod tak by to bylo jedině plus protože by měl další využití. Líbí se mi to, u iPhonu bych to ale moc vidět nechtěl :).
??
http://hn.hnonline.sk/ekonomika-a-firmy-117/novy-iphone-za-30-eur-alza-urobila-preslap-ludia-chcu-svoje-lacne-telefony-641196