Zavřít reklamu

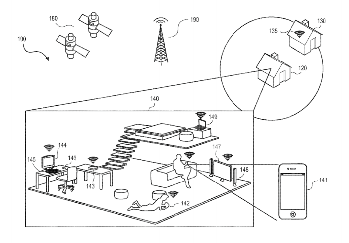
Apple požádal o udělení patentu na technologii, která změní nastavení zabezpečení iOS zařízení na základě toho, kde se v daný moment iOS zařízení nachází. iOS zařízení lokalizuje podle GPS a Wi-Fi místo, kde se právě nachází a podle toho změní nastavení zabezpečení. To znamená, že na základě lokality se změní nastavení zabezpečení. Zatím co v bezpečí vašeho domova bude stačit přiložit palec pro Touch ID, když budete na druhém konci světa na dovolené, bude nutné například vždy zadat celé heslo nebo rozšířené heslo.

Zařízení navíc dokáže taktéž na základě polohy změnit další nastavení. Pokud například doma běžně používáte Bluetooth reproduktory, zapne se po příchodu domů automaticky Bluetooth aby bylo usnadněné spárování. Pokud jste však domov opustili, Bluetooth se automaticky vypne. Další možností využití je pak například zablokování plateb nebo nákupů v momentě, kdy opustíte svůj domov a tak dále. Vše si samozřejmě můžete nastavit a tak záleží jen na uživateli, zda tuto funkci využije nebo nikoli.

Zajímavé je, že zařízení nevyužije pouze GPS polohu a ani v podstatě GPS ke změně svého nastavení nepotřebuje. Vše totiž probíhá na základě několika aspektů, které iOS zařízení během prvotního nastavení zohlední. To znamená, že se kontroluje například Wi-Fi síť ke které je zařízení připojeno nebo například poloha určená pomocí nejbližšího GSM vysílače a tak dále. Pokud tedy zařízení například detekuje domácí Wi-Fi síť, změní automaticky své nastavení. Jako vždy, i tentokrát připomínáme, že se jedná o pouhý patent, který Apple může, ale také nemusí nikdy využít.

apple-patent-app-july-3-01

*Zdroj: appft.uspto.gov

Dnes nejčtenější

.