Zavřít reklamu

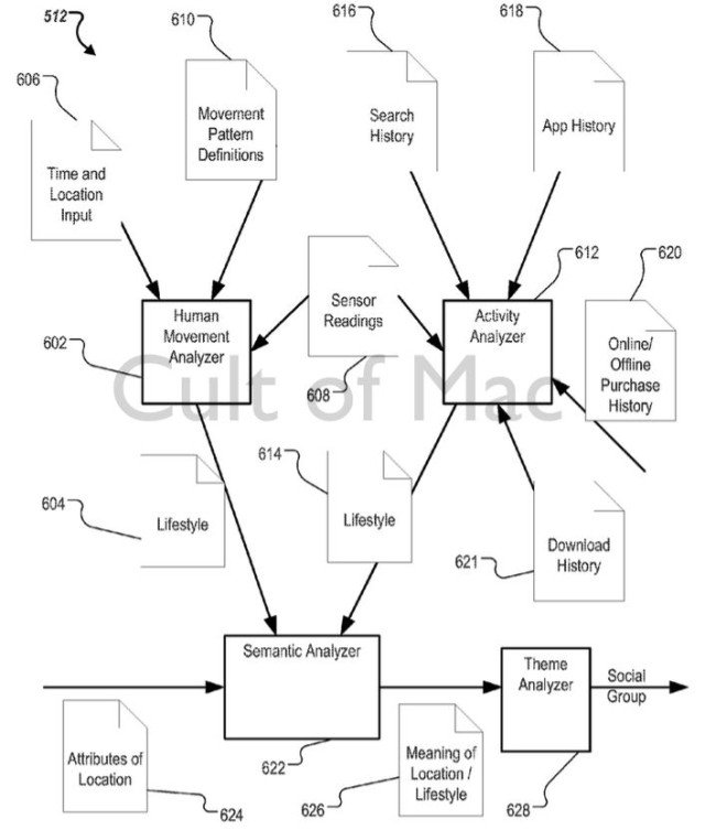
Apple získal patent chrániaci novú sociálnu sieť, ktorá by bola iná než tá, ktorú navštevujete každý deň. Zdá sa totiž, že spoločnosť pracuje na takej sociálnej sieti, ktorá by sa prispôsobila tomu, čo užívatelia robia so svojimi telefónmi a na základe záujmov užívateľov by vytvárala ich skupiny. Apple by zisťoval vaše záujmy na základe viacerých faktorov, kam patrí napríklad váš pohyb, čas a miesto, história nákupov v App Store a história vyhľadávania v Safari, informácie z fitnes trackerov a iných zariadení, ktoré sú nejak spojené s vašim iOS zariadením.

Výsledkom by bola sociálna sieť prístupná exkluzívne len pre užívateľov iPhonu, v ktorej by ste naozaj našli ľudí s podobnými záujmami ako máte vy. Apple by teda začal intenzívnejšie zbierať vaše informácie, avšak je možné, že na serveroch Applu by ostali šifrované a nemohol by k nim len tak niekto pristupovať. Zároveň sa zdá nepravdepodobné, že by Apple predával tieto informácie ďalším stranám za účelom cielenej reklamy. V sociálnej sieti by ste tak mohli spoznať všetkých užívateľov, ktorí chodia do vášho obľúbeného klubu, fandia vášmu obľúbenému fotbalovému tímu alebo majú radi sushi. Služba by zároveň umožňovala vytvorenie Ad Hoc siete, v ktorej by mohli užívatelia medzi sebou chatovať, stretávať sa alebo si vymieňať informácie.

FaceCook
Apple Social Network

*Zdroj: Cult of Mac

Dnes nejčtenější

.