Čím více se blíží letošní červnová WWDC, tím více nabírají na obrátkách spekulace, týkající se chystaného iOS 18. Jak to v iOS 18 bude s umělou inteligencí a soukromí? Kromě tohoto tématu bude v dnešním souhrnu spekulací řeč o novém nabíjecím příslušenství nebo povrchové úpravě čoček iPhonu 16.
Mohlo by vás zajímat
Čočky fotoaparátu iPhonu 16 Pro
Úniky informací o chystaném iPhonu 16 Pro opět hýbají internetem. Tentokrát se zaměřují na oblast fotoaparátu, konkrétně na novou povrchovou úpravu čoček, která by mohla výrazně zlepšit kvalitu snímků. Již dříve se objevily spekulace o tom, že iPhone 16 Pro zdědí technologii čočky s názvem „tetraprism“, kterou zatím exkluzivně nabízí pouze iPhone 15 Pro Max. Nový únik však naznačuje ještě další vylepšení – speciální povlak čoček. Leaker s přezdívkou Yeux1122 na svém blogu tvrdí, že společnost Apple použije u nových iPhonů technologii známou ALD (Atomic Layer Deposition). Tato metoda umožňuje vytvořit extrémně tenký film (pouhých několik nanometrů) přímo na povrchu čočky. Výhodou ALD je možnost velmi přesné a rovnoměrné aplikace i na zakřivené povrchy. Technologie ALD se již osvědčila u výrobců automobilů, kteří ji využívají ke snížení chyb způsobených odlesky na kamerách autonomních vozidel sloužících k udržování v jízdním pruhu. Díky této nové vrstvě, která v podstatě funguje jako filtr, by měly objektivy iPhonu 16 Pro minimalizovat vznik nežádoucích odlesků. Leaker Lanzuk navíc naznačuje i další, zatím blíže nespecifikované, zlepšení kvality fotografií.
Umělá inteligence a soukromí v iOS 18
Společnost Apple v posledních měsících intenzivně pracuje na svém pokroku v oblasti umělé inteligence (AI) a chystá se ji integrovat do chystaných aktualizací operačních systémů iOS 18 a macOS 15. Z různých zdrojů vyplývá, že se můžeme těšit na celou řadu funkcí využívajících AI, přičemž klíčová bude jedna zásadní vlastnost – tyto funkce budou fungovat bez nutnosti internetového připojení. Mark Gurman z agentury Bloomberg ve svém týdenním newsletteru PowerOn uvedl, že počáteční sada funkcí s umělou inteligencí, které Apple plánuje uvést s iOS 18, poběží výhradně na zařízení. To znamená, že tyto funkce by mohly fungovat bez připojení k internetu a bez jakéhokoli zpracování v cloudu. Apple podle dostupných zpráv interně pracuje na vlastním velkém jazykovém modelu (LLM) s kódovým označením Ajax. Zatímco pokročilejší funkce budou nakonec vyžadovat připojení k internetu, základní analýza textu a generování odpovědí by měly být k dispozici i offline.
Pravděpodobným důvodem rostoucího zájmu Applu o umělou inteligenci je její všeobecně stoupající popularita v posledních několika letech. Nástroje AI se stávají čím dál dostupnější běžným uživatelům, ale zároveň vyvolávají otázky v právní a vzdělávací sféře. Zpracování přímo na zařízení by mohlo eliminovat některé kontroverze spojené s nástroji AI na serverech.
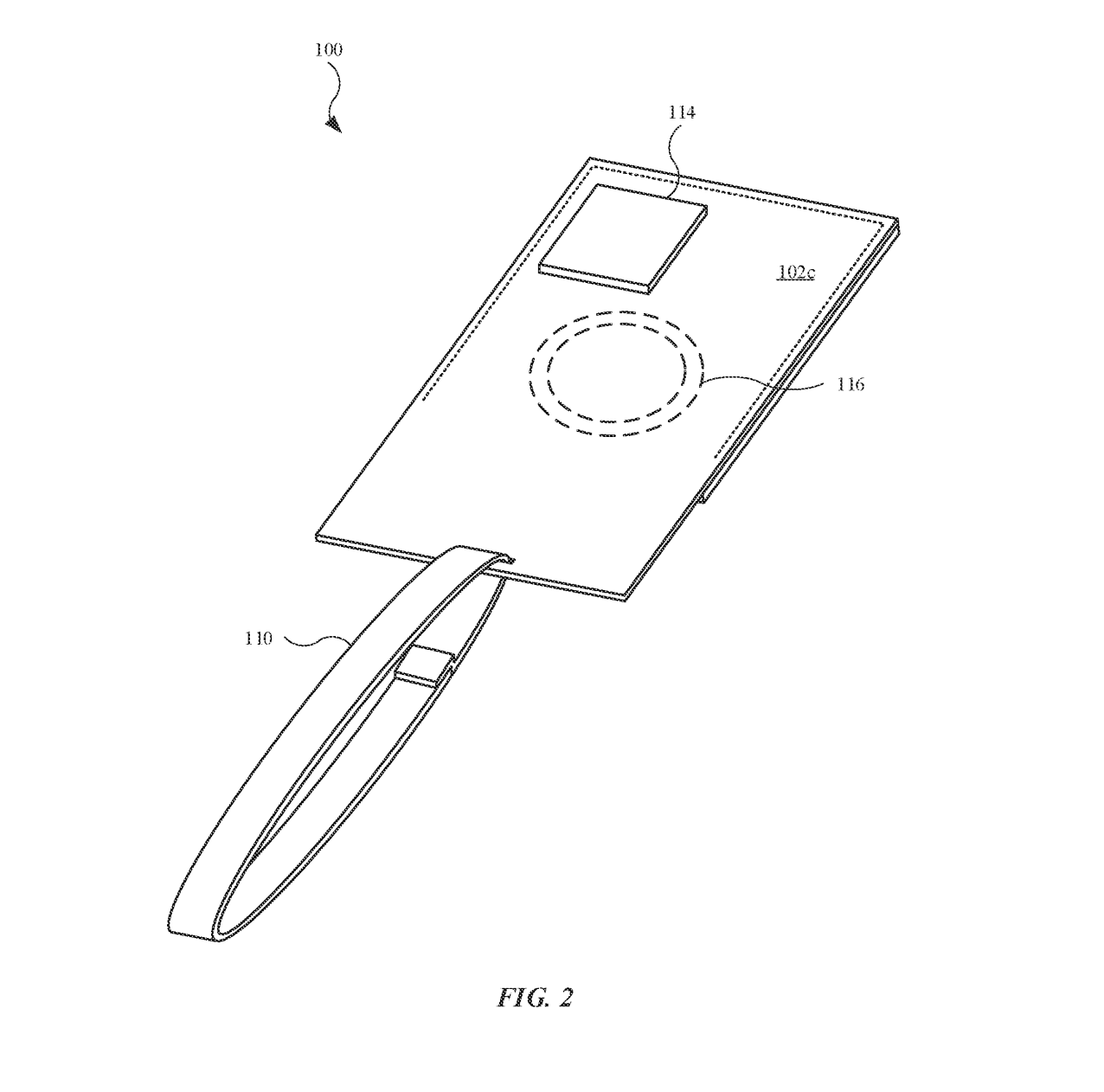
Pracuje Apple na nové MagSafe peněžence?
Pamatujete na pouzdra FineWoven pro iPhone, která se od uživatelů nedočkala právě vřelého přijetí? To ale neodrazuje společnost Apple od vývoje dalších doplňků. Nově udělený patent nazvaný „Accessory device for electronic devices“ popisuje produkt, který sice na první pohled připomíná zvětšenou zavazadlovou visačku, ale podle všeho nabídne mnohem víc.
Podle patentních nákresů půjde o držák na iPhone s popruhem, který by se mohl připnout například na zavazadlo. Ovšem v závislosti na délce a provedení popruhu by mohl sloužit i jako šňůrka na krk nebo pouzdro na ruku. V patentu se mimo jiné píše, že se jedná o „doplňkové zařízení k nošení přenosného elektronického zařízení a dalších osobních věcí (například platebních karet)“. „Když toto příslušenství nese elektronické zařízení, může s ním komunikovat a umožnit mu přizpůsobit zobrazovací funkce podle vlastností doplňku,“ píše se také v patentu. Pouzdro by podle všeho mohlo tedy sloužit také k nabíjení. Tento patent je připsán čtyřem vynálezcům, včetně Sary Rusignuolové. Její předchozí práce pro Apple zahrnuje několik patentů a žádostí týkajících se pouzder na iPhone.
Na spekulace z vysoka kašlu, mě zajímá realita. Spekulací lze vymyslet kýble.
Pak bych na vašem místě nečetl článek, který má v nadpisu Souhrn spekulací….
Pokud nadpis článku nelže pak je jisté, že obsah není o realitě která by mě zajímala ale o spekulacích, které mě nezajímají a proto ho nečtu protože nemá žádnou informační hodnotu.