Zavřít reklamu

Již jen několik dní nás dělí od spuštění prodeje headsetu Vision Pro. Této jablečné novince již nyní někteří věští obrovský úspěch, který by ovšem mohl vést k nepříjemnému prodloužení dodací doby. Kromě Vision Pro bude v dnešním souhrnu spekulací řeč o tmavých Apple Watch Ultra 2 a MagSafe gimbalu od Applu.

Obří zájem o Vision Pro

Oficiální prodej headsetu Vision Pro bude spuštěn teprve až za několik dní, někteří mají ale už nyní jasno v tom, že o něj bude obrovský zájem. Tuto teorii razí například také známý analytik Ming-Chi Kuo, podle kterého se Vision Pro i navzdory vysoké ceně vyprodá bleskovou rychlostí. Kuo v této souvislosti mimo jiné uvedl, že nebývale velký zájem o Vision Pro by mohl během chvilky způsobit nepříjemné prodloužení dodací doby. Uvedl také, že ještě před spuštěním prodeje by Apple mohl začít prozrazovat nové podrobnosti o headsetu, aby nalákal zájemce z řad zákazníků i vývojářů.

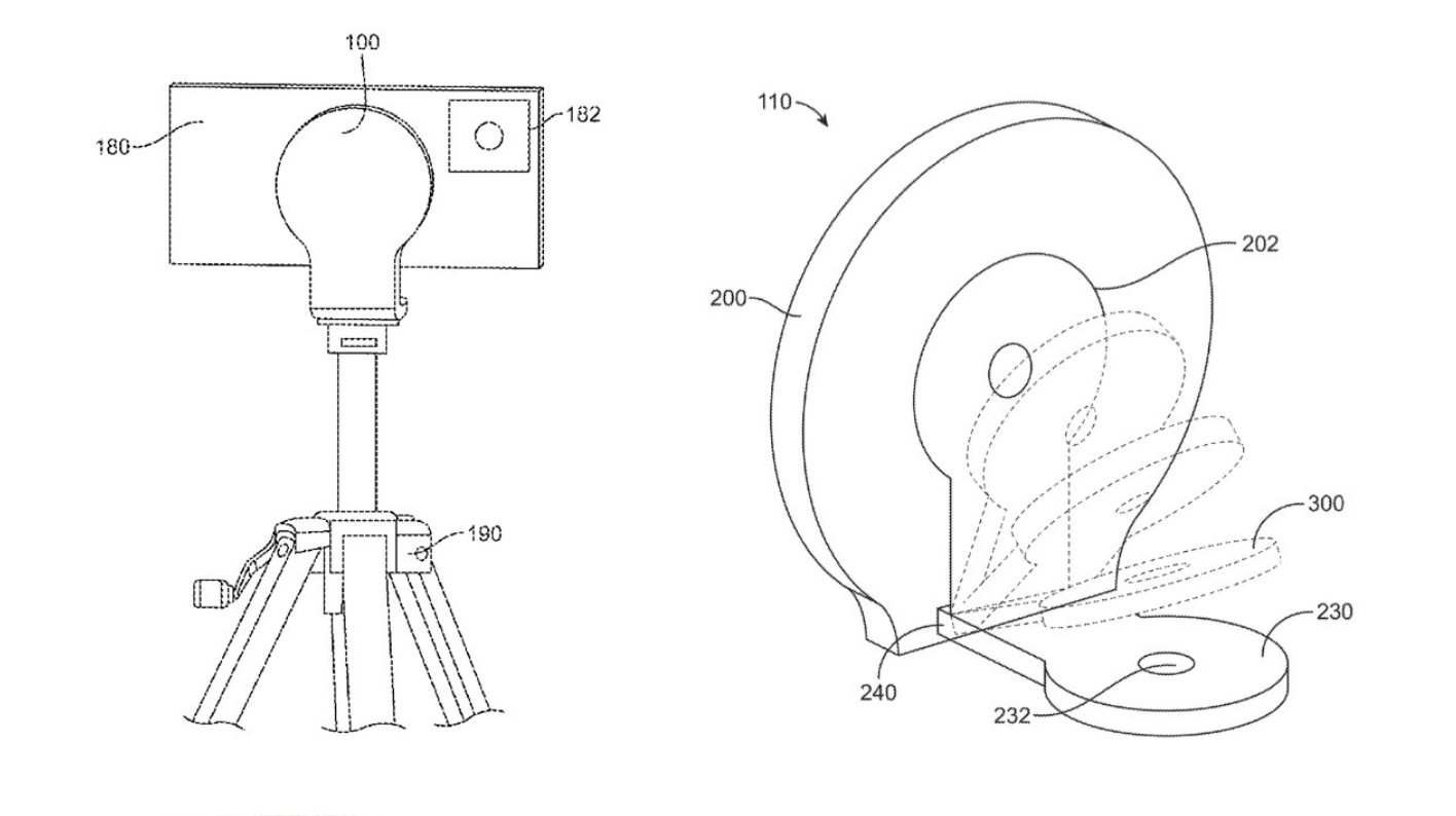
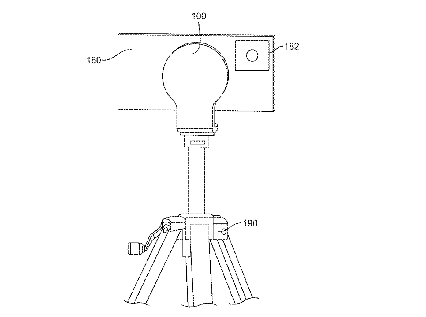
MagSafe gimbal pro iPhone z dílny Applu

Spousta uživatelů používá své iPhony za účelem natáčení obsahu v terénu. Oblíbeným příslušenstvím pro tento typ natáčení jsou takzvané gimbaly – a podle nejnovějších zpráv to vypadá, že bychom se možná v dohledné době mohli dočkat MagSafe gimbalu přímo z dílny společnosti Apple. Svědčí o tom nedávno registrovaný patent na zařízení, které může sloužit jako stabilizátor s funkcí nabíjení. V patentu je popsáno hned několik variant fungování daného zařízení – nyní tedy nezbývá než čekat, zda Apple svůj návrh uvede skutečně do praxe.

Tmavé Apple Watch Ultra 2

Ještě v průběhu uplynulého roku se na internetu šířily spekulace o tom, že Apple chystá Apple Watch Ultra 2 v tmavém provedení. Podle leakera s přezdívkou Dongle Apple na této verzi svých odolných hodinek druhé generace skutečně pracoval. Dongle nedávno zveřejnil na svých sociálních sítích snímky, na kterých lze vidět části těla Apple Watch v tmavé barvě, stejně jako tmavé kovové koncovky řemínku. Tmavá varianta Apple Watch Ultra 2 nakonec ale světlo světa nespatřila – nechme se překvapit, zda se jí dočkáme alespoň v budoucnu.

Dnes nejčtenější

.