Zavřít reklamu

Dálkové ovladače k Apple TV v současné chvíli nenabízí žádnou haptickou odezvu. To by se ale v dohledné budoucnosti mohlo změnit. Společnost Apple v současné chvíli zkoumá možnosti využití haptiky v Siri Remote, a jak se dočtete na následujících řádcích, má proto celkem pádné důvody.

Na první pohled by se mohlo zdát, že haptická odezva je u ovladače k Apple TV zbytečná – ve většině případů stačí jen stisknout správné tlačítko, případně provést správné gesto, a Apple TV okamžitě zareaguje odpovídajícím způsobem. Zpětná odezva na Apple TV ale bývá často čistě vizuální, což značně znevýhodňuje například zrakově handicapované uživatele. Haptickou zpětnou ale využijí také hráči her.

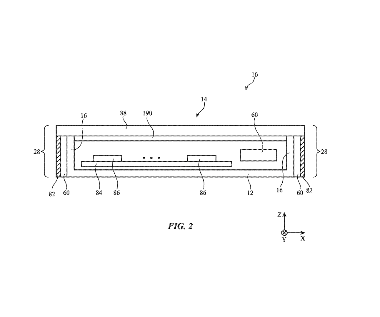
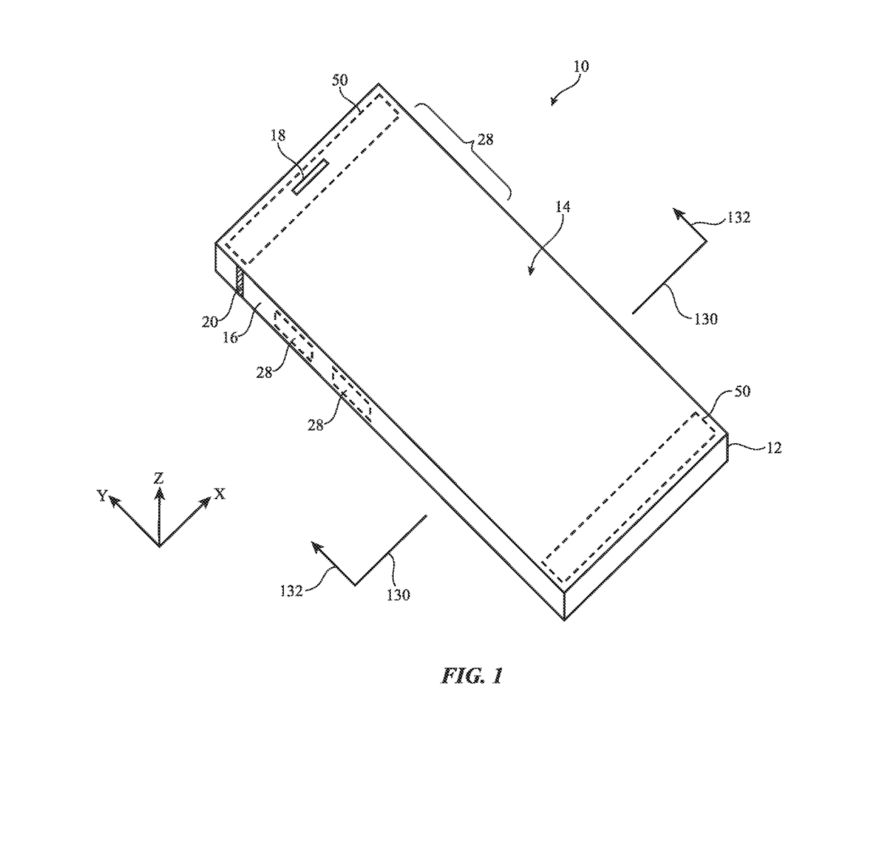
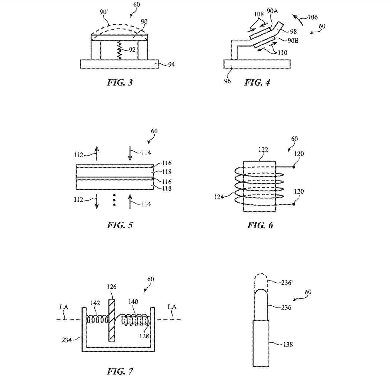
Společnost Apple podle dostupných informací momentálně aktivně zkoumá, jak do ovladače pro Apple TV zakomponovat haptickou zpětnou vazbu, která by uživatelům mohla mimo jiné potvrdit, že byl jejich požadavek z ovladače úspěšně zpracován. Svědčí o tom nedávno podaná patentová přihláška, popisující „elektronická zařízení s dotykovými vstupními komponentami a haptickými výstupními komponentami“. Zařízení, popsané v patentové přihlášce, by mělo být opatřeno vstupními dotykovými prvky spolu s výstupními prvky. Haptická odezva by mimo jiné mohla sloužit i k informování uživatele o tom, že je ovladač správně nasměrován k Apple TV nebo třeba o tom, že přechází do neaktivního režimu. Nákresy v patentové přihlášce nicméně připomínají spíše iPhone než dálkový ovladač, a v textu se hovoří také o možné implementaci zmíněné technologie do počítačů, monitorů, tabletů, mobilních telefonů nebo třeba mediálních přehrávačů.

  • Apple produkty lze zakoupit například na Alze, u iStores či Mobil Pohotovost (U Mobil Pohotovost lze navíc využít akce Koupíš, prodáš, prodáš, splácíš, v rámci které lze iPhone 14 získat už od 98 Kč měsíčně

Dnes nejčtenější

.