Dnešní souhrn spekulací se ponese zejména ve znamení bezdrátových sluchátek. Kromě toho, že se v kódu iOS 16.4 objevil náznak možných nových AirPodů, se na Twitteru objevil také údajný únik chystaného nového modelu Beats Studio.
Mohlo by vás zajímat
Náznak nových AirPods v iOS 16.4
Není ničím neobvyklým, že se občas v kódu některého z operačních systémů od Applu objeví důkaz o chystaných nových službách, aplikacích či produktech. Bylo tomu tak i v nedávno vydané RC betaverzi operačního systému iOS 16.4, ve kterém se objevil kód, odkazující na dosud nepředstavený model sluchátek AirPods. Jedná se o dvojici produktů, z nichž jeden nese označení A3048 a druhý A2968 – mělo by jít o sluchátka a nabíjecí pouzdro. Zatím není nicméně jasné, zda se jedná o chystanou novou generaci AirPods Pro, nebo zcela nový model.
Design nových Beats Studio
Sociální síť Twitter je obvykle poměrně bohatým zdrojem nejrůznějších více či méně důvěryhodných úniků, renderů a spekulací. Účet jménem iSoftware Updates zveřejnil v průběhu uplynulého týdne tweet s videem, na kterém se údajně nachází dosud nevydaná sluchátka Beats Studio s názvem Buds+.
New Beats Studio Buds coming soon. To be called "Buds+" per @9to5mac pic.twitter.com/NGV6TmrkmO
— iSoftware Updates (@iSWUpdates) March 21, 2023
Podle všeho by tedy mělo jít o aktualizaci sluchátek Studio Buds z roku 2021. Na rozdíl od zmíněného modelu by novinka měla být osazena čipem W1, a s největší pravděpodobností budou Beats Studio Buds+ disponovat také funkcí aktivního potlačení hluku a dalších funkcí, které nabízí AirPods Pro.
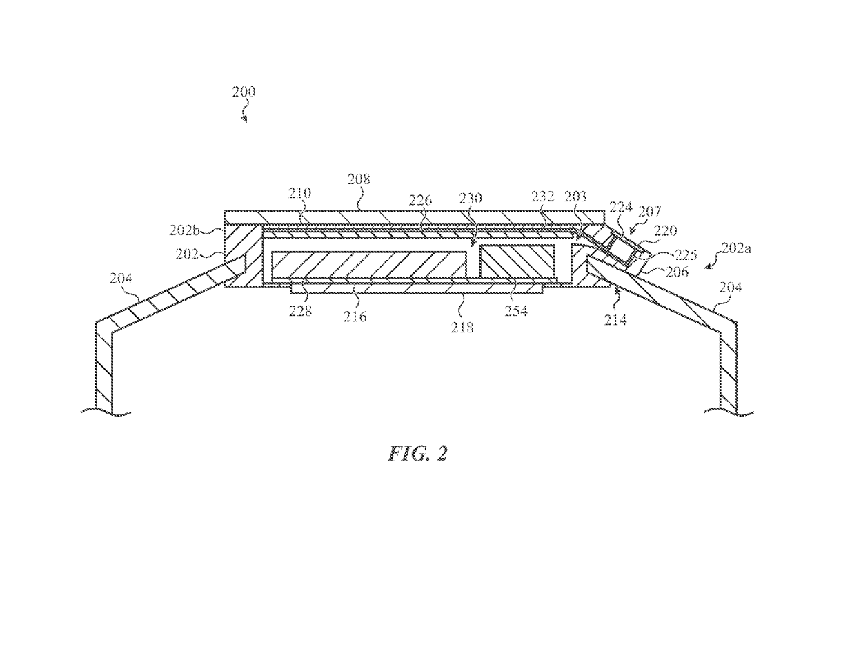
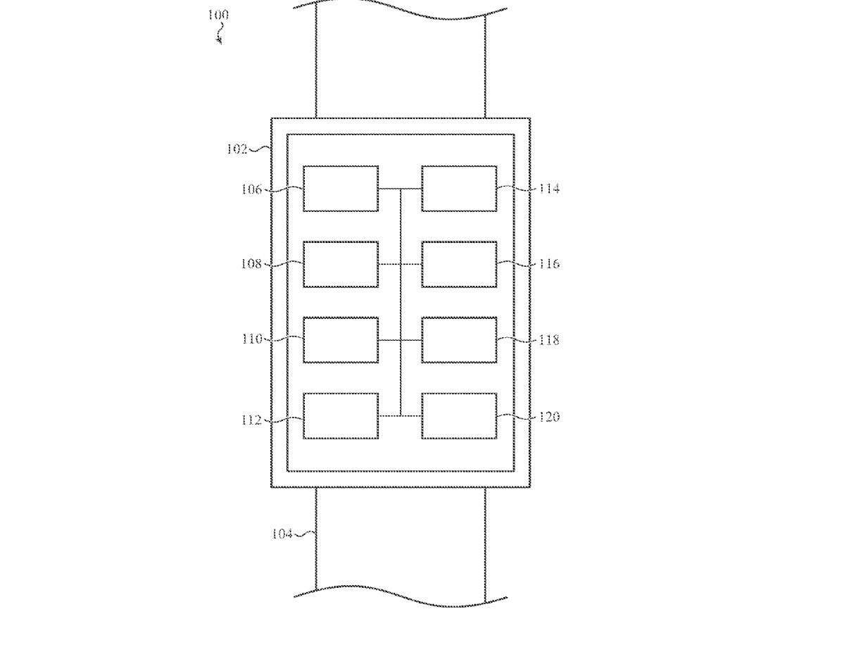
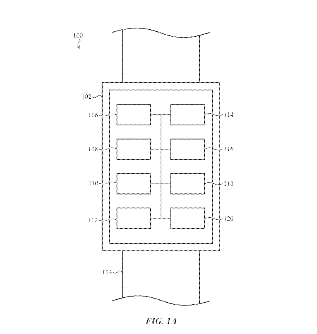
Apple Watch s Face ID
Spekulace, související s budoucími modely Apple Watch, bývají v poslední době spíše umírněné. Minulý týden se ale objevila poměrně odvážná zpráva o tom, že by Apple mohl do svých budoucích chytrých hodinek implementovat kameru. Firma si již v minulosti nechala patentovat systém, který by umožňoval umístění fotoaparátu do digitální korunky hodinek, nově registrovaný patent ale naznačuje praktičtější umístění. Podle zmíněného patentu by se fotoaparát měl nacházet ve vystouplé oblasti nad tělem hodinek, tedy nad horní částí displeje. Fotoaparát by měl mít schopnost natáčení videa ve 4K při 60fps, a mohl by sloužit také k odemykání Apple Watch za pomoci Face ID.