Zavřít reklamu

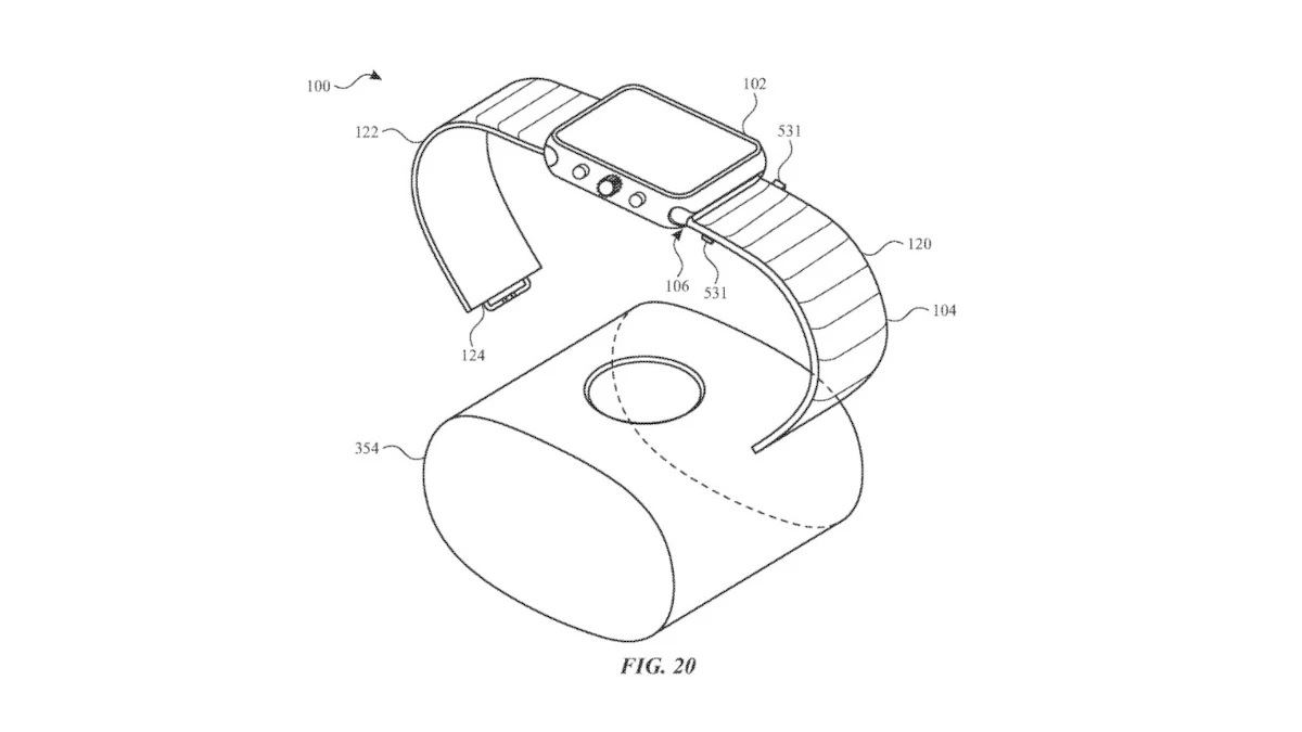
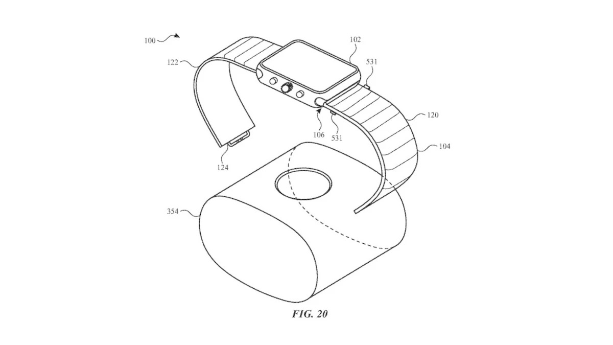
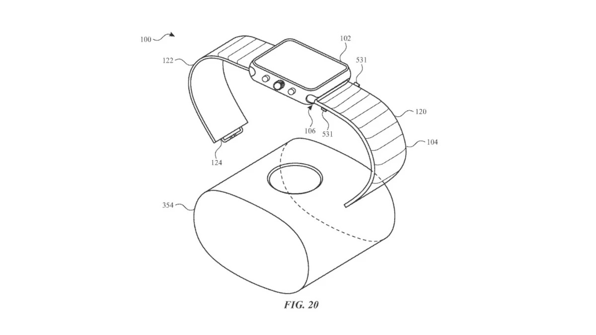
Apple vlastní další zajímavý patent. V minulosti jsme už mohli být několikrát svědky různých konceptů, které hovořily o Apple Watch s fotoaparátem. A jak se zdá (a ne poprvé), nad tímto řešením Apple v současné době opět uvažuje. Od patentového úřadu totiž obdržel patent s krkolomným názvem „Watch Having A Release Mechanism“, který podrobně popisuje metodu, jak by uživatelé Apple Watch mohli získat přístup k fotoaparátu umístěném na spodní straně zařízení.

Text patentu hovoří o speciálním pásku, který by umožnil rychlé odepnutí hodinek, aby uživatel co nejrychleji mohl získat přístup k fotoaparátu. Jakmile by bylo dofotografováno, vložil by uživatel zpět do řemínku, který by se uzamknul. V přihlášce stojí, že by určitou roli v tomto mechanismu hrál magnet. Otázkou je, zda něco takového má opravdu smysl. Za předpokladu, že u sebe nemáte iPhone a potřebujete něco rychle vyfotit, tak možná ano. Upotřebení by jistě ale našla taktéž malá přední kamera, která by například mohla umožnit plnohodnotné FaceTime hovory. Není to poprvé, co slyšíme o spojení „Apple Watch a fotoaparát“. Již v minulosti jsme podobné patenty mohli vídat, ovšem v těchto případech šlo o umístění fotoaparátu na pásek. Tak či onak, ve všech případech se jedná pouze o patentové přihlášky, které Apple nemusí nikdy uvést v život. Ostatně kameru v chytrých hodinkách jsme mohli vidět již v minulosti, a to například u Samsung Gear 2, kde byl 1,9 MPx fotoaparát. Grafickou podobu patentu můžete vidět pod odstavcem.

patent 1

Dnes nejčtenější

.