V souvislosti s Applem se v poslední době opět začíná mluvit o jeho budoucích brýlích pro rozšířenou nebo virtuální realitu. Spekulace se v tomto směru mírně rozcházejí – některé zdroje hovoří o VR headsetu, jiné zase o chytrých brýlích. Ty by podle nejnovějších zpráv mohly být vybavené velmi zajímavými funkcemi včetně snímání videozáznamu, ovládaného pohledem.
Mohlo by vás zajímat
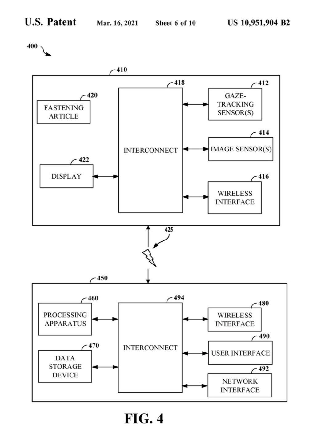
Apple si nedávno nechal zaregistrovat patent, který popisuje „systémy a metody nahrávání videa, ovládaného pohledem“. V poznámkách ke zmíněnému patentu mimo jiné stojí, že by předmětná náhlavní souprava měla sloužit k poskytování zážitků ve virtuální, rozšířené nebo smíšené realitě. Zařízení by mělo podle nového patentu disponovat schopností nahrávání videa s možností pozdějšího přehrání nebo analýzy. Popisované chytré brýle by měly být vybavené senzory se schopností detekovat pohled uživatele, jeho směr a pohyby, a na základě směru pohledu ovládat kameru a pořizovat záznam. Kromě řady senzorů by brýle mohly být dále vybavené systémem s přístupem k pořízeným datům
Samotný sytém by pak měl kromě brýlí jako takových sestávat dále ještě ze samostatného zařízení, které by se mělo starat o dodávání energie a také poskytovat úložiště pro příslušná data. Tímto zařízením je s největší pravděpodobností myšlen iPad, iPhone nebo Mac. Co se týče senzorů pro sledování pohledu, měly by být schopné přesně detekovat, kdy uživatel skutečně něco sleduje, a odlišit toto sledování od náhodného těkání pohledem. Samotná registrace patentu pochopitelně ještě nezaručuje jeho finální využití v praxi. Vypadá to ale, že vývoj AR / VR zařízení od Applu postupuje skutečně vpřed – otázkou je, kdy se dočkáme jeho příchodu. Servery The Information a Bloomberg se shodují na tom, že Apple chystá jak VR, tak i AR zařízení, přičemž nejprve by měl být představen VR headset a až poté brýle pro rozšířenou realitu. Analytik Ming-Chi Kuo zase zastává názor, že zařízení pro smíšenou realitu spatří světlo světa v roce 2022, zatímco Apple Glasses budou vydány o tři roky později.
Zajímavé, ale spíše se zde nabízí otázka soukromí, na které dojeli Google Glass dříve než je vůbec začali prodávat.
okuliare od apple su dalsia Kolombova zena, tak ako apple car alebo kedysi apple televizor