Společnost Apple údajně testuje technologie, které by u budoucích iPhonů a iPadů skryly mezeru v šasi, která slouží pro anténu. V současné době je pro jablečnou společnost obtížné navrhnout iPhone z materiálu, skrz který by elektromagnetické vlny prošly. Těchto pruhů si můžete všimnou na boku nebo na zádech svého iPhonu (závisí na modelu). Apple ale postupem času zapasoval pruhy do designu tak, že momentálně vypadají jako jeho součást. Pokud si vzpomenete na iPhone 6/6s, zde byly pruhy na zádech velkou kontroverzí, byť například mně vůbec nevadily a celkem se mi i zamlouvaly. Apple ale kritiku vnímal a například u iPhonu 7 tyto pruhy nasměroval kolem hranic šasi. Jablečný gigant ovšem nově vlastní patent, který by měl pruhy z designu iPhonů a iPadů zcela odebrat.
Mohlo by vás zajímat
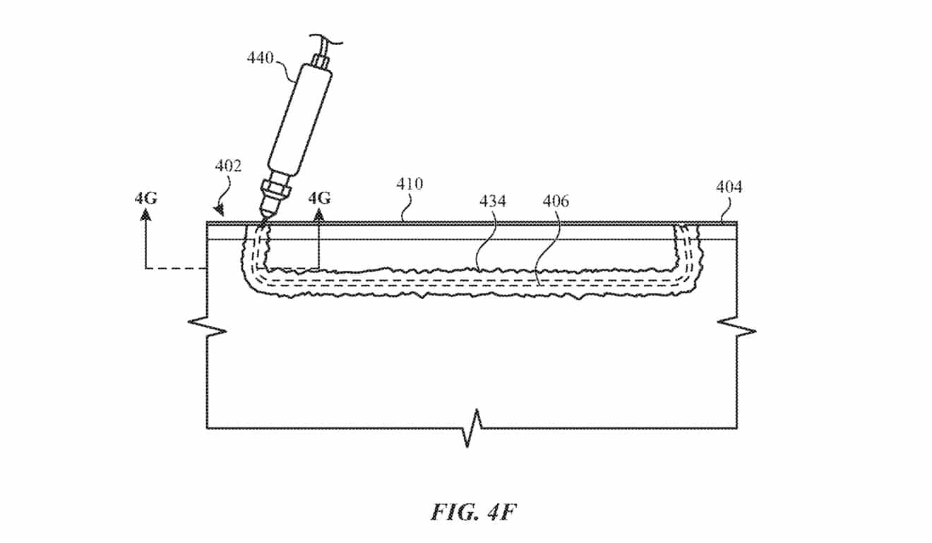
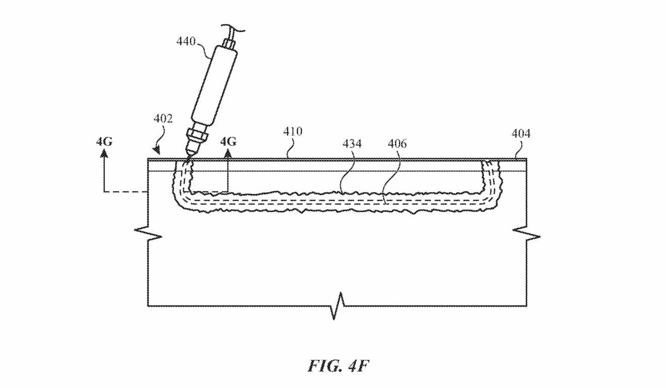
Jak bývá zvykem, text patentové přihlášky je velmi odborný a do jisté míry i zmatečný. Nicméně v něm stojí, že zadní strana iPhonu/iPadu by byla vyhotovena ze tří vrstev – konkrétně z hlavního pouzdra, druhé části krytu a inkoustové vrstvy. Hlavní pouzdro by bylo vyrobeno z kovu a byly by v něm implementovány součástky jako fotoaparát, reproduktory, senzory a podobně. Tato část by byla pokryta nevodivým materiálem a povlakem na zakrytí. Nevodivá vrstva by umožňovala průchod signálu a inkoust by zajistil, aby vše vypadalo jako jeden kus a zároveň by fungoval jako pojidlo. Grafickou podobu patentu můžete vidět pod odstavcem. Vadí vám nějakým způsobem pruhy pro antény?
Co z toho? Stejne to vetsina lidi da do obalu😂
Jednoduché řešení je; nekupovat si iPhone 🙃
Tedy něco, co je již na Pixelech 4 a 5?
ano, přesně tak :-)
Teoreticky, až na to, že celá záda Pixel 5 jsou plastová, a kovové šasi je pouze na určitých místech, i přes to, že Google tvrdí, že celá záda Pixelu 5 jsou vyrobena z kovu, na kterém je plast.
Vystoupila čočka je hrozná, nejen u iphonu. Ale výřez na displaji mi absolutně nevadí. Stejně jako díra kameru na jiných zařízeních. Vysvětlí mi někdo při čem to překáží?
Boze vy mate starosti 😩