Zavřít reklamu

Apple se nešetří ani během krize a snaží se neustále přicházet s novými inovacemi a koncepty, díky nimž si nažene nějaké ty body navíc před konkurencí. Za posledních několik týdnů jsme se tak dočkali řady více či méně zajímavých a realizovatelných patentů, které nám dávají nahlédnout pod pokličku toho, co se hluboko v laboratořích Applu chystá. Výjimkou není ani nejnovější přírůstek, který si vzal na paškál iPhone a způsob, jak by mohl v budoucnu vypadat. V horizontu několika let by nás totiž mohly čekat rolovací jablečné telefony.

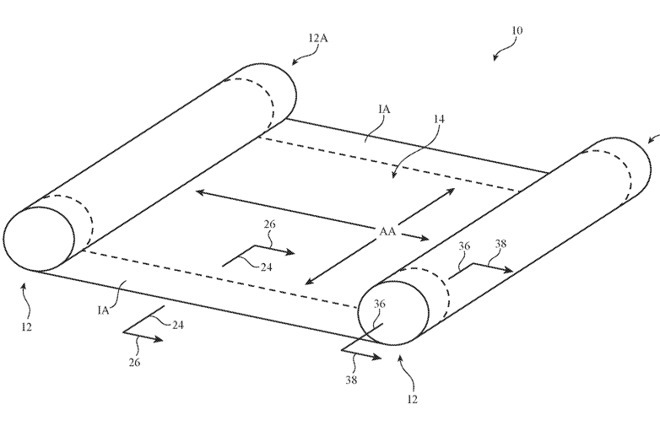
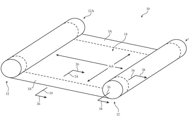
Technologický svět se teprve nyní postupně vypořádává se skládacími smartphony, které jsou však kvůli své ceně pro běžného spotřebitele stále poměrně nedosažitelné, a Apple už pomalu přemýšlí nad dalším způsobem, jak změnit používání telefonu k nepoznání. Ač jsme se tedy za poslední měsíce dočkali řady konceptů a návrhů týkajících se ohebného iPhonu, nyní nám na stůl přistál další patent, jenž pro změnu prozkoumává možnosti rolovacího zařízení. Displej by tak bylo možné srolovat podél několika os a byl by na tolik flexibilní, že by ho podobné zacházení nijak neponičilo. Princip by byl vcelku jednoduchý, obrazovka by se nacházela v jakémsi krytu s přídavnými částmi, pomocí nichž by se dalo s displejem manipulovat. Poté by jen stačilo pomocí těchto součástek dotykovou obrazovku libovolně srolovat a telefon schovat například do kapsy.

iPhone patent

Aby nedocházelo k průběžnému ničení displeje a nejrůznějším záhybům a nerovnostem, přišel Apple s poměrně unikátním, ale nanejvýš jednoduchým nápadem. Obrazovku by v krytu držely magnety, které by byly rozprostřeny po celé ploše. Jablečná společnost zároveň popisuje dva stavy, a to ten, ve kterém je zařízení srolováno a ten, v němž je naopak displej na své plné kapacitě. V prvním zmíněném případě by kryt pro obrazovku mohl posloužit zároveň jako virtuální klávesnice, avšak jak přesně by tento koncept fungoval je zatím otázkou. Jisté je, že každá část by plnila svou funkci a nebyla by jen tak „navíc“. Patent se nicméně nevztahuje pouze na jablečný smartphone, ale také na MacBook, iPad a dokonce i Apple Watch. Uvidíme, zda se Apple rozhodne patent nakonec využít, nebo návrh uklidí do šuplíku a počká ještě pár let.

Dnes nejčtenější

.