Mezi loňskými iPhony nenajdeme ani jeden model s Touch ID. Od této technologie se totiž Apple, tedy alespoň u iPhonů, oprostil. V nových jablečných telefonech tedy nalezneme mnohem bezpečnější autentizační metodu Face ID, jež byla představena v roce 2017 spolu s iPhonem X. Pravděpodobnost jejího prolomení je v tomto případě 1:1000000, u Touch ID to bylo 1:50000. Ač je sice Face ID papírově 20x bezpečnější, není bezchybné. Některým jednovaječným dvojčatům se tuto technologii podařilo prolomit. Je ale stále spousta jedinců, kteří nedají dopustit na Touch ID dopustit. A dle zveřejněných patentů se možná s touto technologií nehodlá rozloučit ani Apple.
Grafické znázornění obou patentů:
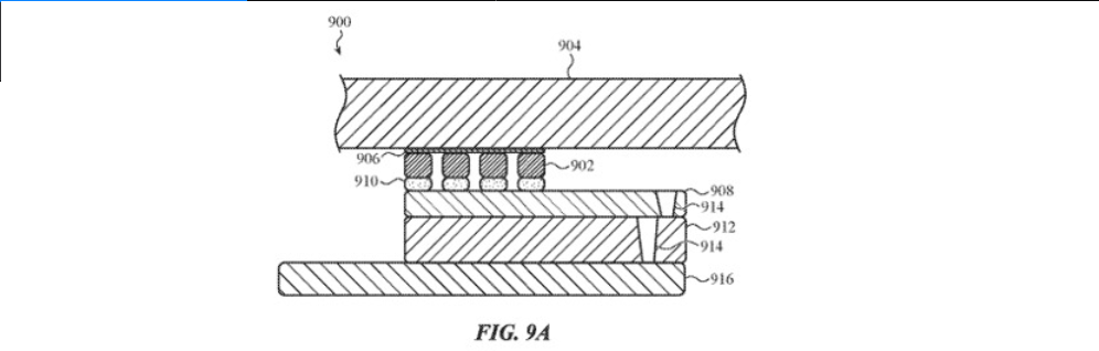
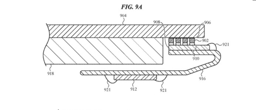
U mnoha konkurenčních androidích telefonů můžeme dnes vidět čtečku otisků prstů zabudovanou v displeji. Podobné plány má tedy možná i Apple. První patent se nazývá „Metody biometrického zobrazování vstupních ploch“. V displeji by měla být zabudována sada akustických měničů, které by v patřičný okamžik skenovaly otisk prstu. V tomto případě samozřejmě kdekoli na celé ploše displeje. Zatímco tedy konkurence dnes má čtečku otisku prstu funkční na jednom specifickém místě na displeji, Apple myslí praktičtěji.
Mohlo by vás zajímat
Druhý patent s názvem „Akustický zobrazovací systém pro prostorovou demodulaci akustických vln“ popisuje stejnou technologii jiným způsobem. V displeji by byly dvě řady snímačů. První by „deformoval“ povrch displeje elektrickým signálem, druhý by pak tuto deformaci měřil. Samotné měření by také generovalo elektrické signály, které by zaznamenávala technologie, jež by je převáděla do obrazu prstu.
Jedná se samozřejmě pouze o patent, který nemusí být nikdy uveden v život. Ovšem několik podobných patentů, které se zaobírají technologií čtečky otisku prstu po celé ploše displeje, má Apple více. Možná tedy časem k FaceID přibude i možnost odemykat jablečné zařízení prstem.
Jo a pak se nedoplatite jak rozbijete displej …Stacilo jak chteli za displej na iphone X kolem 18 000 a za zadek 10-12 000 :-D
Ja s brachou nejsme dvojčata, rozdíl věku 3 roky a odemkneme si telefon navzájem…. 🤣😖
Důkaz máš nebo jen blbé plky?
@Roman Golias: neboj, raz sa naucis odomykat si telefon sam :-)
:-)
A podarilo sa vám to úplne na prvý krát ? Pretože ak po jeho neúspešnom pokuse zadáš pin kód tak sa tú tvár doučí a ty potom machruješ na fórach
Vykrik do tmy? Nespecifikoval si o aky mobil sa jedna, ani zabezpecovaciu metodu.
To by bylo super!
Můj XS Max s FaceID v rychlosti a spolehlivosti výrazně ztrácí na TouchID. I když appy days scenarios jsou ale z pohledu UX ok.
Myslím ze by měli být obě tyto technilogie v telefonu každá je dobra na něco jiného. Samozřejmě otisk přes display. Tak by si každý vybral co používat aspoň u těch vlajkových modelu.
Touch ID forever!!!!
Můžu potvrdit, moje sestřenice nemá problém přes face id odemknout telefon její matky i přes velký věkový rozdíl.