Práce na autonomním vozu z dílny kalifornského giganta začínají dle dosud publikovaných patentů nabírat na obrátkách. Jeden čerstvě zveřejněný například poodhaluje to, jak by mohla mezi sebou jablečná vozidla komunikovat, díky čemuž by se mohla mimo jiné zvýšit jejich bezpečnost a to skutečně výrazně.
Mohlo by vás zajímat
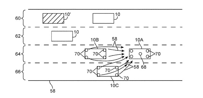
Patent nese název „Bezdrátový systém vozidel pro zvýšení situačního povědomí“ a fungovat bude díky čtyřem vysílačům, které budou rozmístěny po stranách vozidla. Ty si budou schopny mezi sebou sdílet nejrůznější data, mezi nimiž nalezneme rychlost, polohu, velikost a spoustu dalších, které pomohou určit nadcházející kroky a včas informují druhou stranu o připravovaných změnách přímo na silnici. Díky této kombinaci by se mělo předejít hlavně nechtěným srážkám, jelikož daná vozidla o sobě budou vědět daleko dřív, než je registruje samotný pasažér. Data z vysílačů by taktéž mohla varovat samotné řidiče před hrozícími překážkami na silnici.
Prohlédněte si popsané snímky zveřejněné spolu s patentem v galerii níže:
Není pochyb o tom, že myšlenka vzájemné komunikace aut od Applu je velmi zajímavá a její realizace by skutečně mohla bezpečnost na silnicích zvýšit. Už nyní je však jasné, že pro její maximální funkčnost by bylo potřeba na silnice dostat i velké množství jablečných aut, což se však vzhledem k tomu, že budou nejspíš velmi drahá, nedá alespoň ze začátku očekávat. Ve výsledku by tak mohl tento zajímavý patent skončit jen a pouze na papíře. Nechme se však překvapit. Některá z dalších generací Apple Car by se podobnou vymožeností skutečně pochlubit mohla. I kdyby se však podobné vychytávky žádné auto nedočkalo, z patentu je minimálně jasné, že Apple bezpečnost pasažérů svého auta rozhodně nebere na lehkou váhu a bude se jí snažit maximalizovat.
Nechápu, jak jim něco takovýho dovolí patentovat, když už to existuje. Používá se pro to zkrátka V2X a je to standardizované, protože jinak by to bylo k nicemu. Ale Apple jako vždy vymyslí uzavřené řešení.
Divím se, že o tom autor článku slyší poprvé, protože tohle je nošení dříví do lesa. Každá automobilka je o deset let ve vývoji dále, než utopie od applu, ve kterou snad ještě někdo doufá?