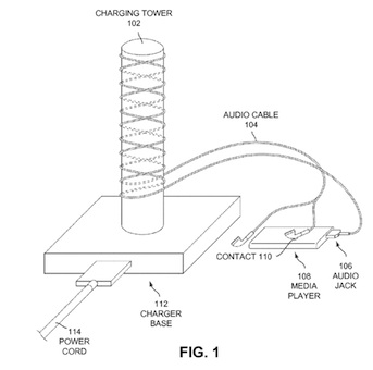
Server 9to5mac dnes ráno objevil novou patentovou přihlášku v patentu USA a Trademark Office databázi, která popisuje induktivní nabíjecí systém pro zařízení iOS, podobný jako bezztrátový dokovací Touchstone systém u zařízení HP řízených webOS jednotkou. Patent Applu popisuje indukční nabíjení „věží“ kterou doslova omotáte svými sluchátky a kabelem. Zvláštně tvarované nabíjení pomocí věže přemění A/C výkon který obdržel ze zásuvky, výsledné napětí je řízeno pomocí cívky která je obtočena kolem feromagnetického jádra. Toto nastavení vytváří pomocí feromagnetického jádra magnetický tok díky kterému by se při vstupu do místnosti kde máte nabíjecí věž začalo Vaše iOS zařízení samo dobíjet.
Apple také popisuje alternativní dobíjecí systém, kde přichytíte sluchátka k akustickému nabíjecímu přístroji a zároveň k iOS zařízení. Akustická nabíječka má reproduktor ve kterém využívá akustický signál bez slyšitelné frekvence. Tento signál pak způsobí že sluchátka začnou vibrovat a snímač v reproduktoru způsobí to, že do sluchátek půjde proud pomocí vodičů.
*Zdroj: 9to5mac.com
Mozna nema dostatek informaci, ale jako lajlovi se mi to moc nezda a jen doufam, ze pokud se tento zpusob nabijeni stane realitou, ze nezrusi standardni nabijeni na jake jsme zvykli. Pri predstave, ze v dane mistnosti travim vic casu a telem mi neustale proudi tak silne magneticke zareni (byt v nejake bezpecnostni norme), aby to dokazalo nabit telefon je mi docela uzko. Staci, ze mate v byte wifi, signal pro mobilniho operatora a dalsi jina zareni… Co to se zdravim udela, kdyz takovemu zareni budeme vystaveni treba 10 let?
Tak to je bezvadnej vynález.. doma bych to urcite vyuzil.. Apple se proste nezapre.
Tohle určitě bude mít vynikající účinnost. Kolik energie spotřebuje nabíječka a kolik se jí dostana do baterky? takových patentů je většina, a čeká se až někdo opravdu vymyslí něco přínosného a potom to patentoví trolové příjdou zkasírovat.
no podla mna je to blbost, lebo ked si predstavim zeby som mal obmotavat sluchatka okolo tohu stlpu tak to zaberie ovela viacej casu ako ked iphone pripojim do docku, a naviac to ziarene a dalsie veci dotoho