Apple Watch jsou skvělým doplňkem k vašemu iPhonu i pomocníkem pro váš zdravý životní styl. Společnost Apple se své hodinky snaží s každou další generací čím dál více vylepšovat. Leckdy nám toho o příští generaci Apple Watch mohou prozradit patenty, které si Apple průběžně nechává registrovat. Zamysleli jste se někdy nad tím, jak by to vypadalo, kdyby jablečná společnost u svých příštích Apple Watch skutečně všechny tyto zajímavé patenty uplatnila? Jakými funkcemi by se pak mohla další generace chytrých jablečných hodinek pochlubit?
Mohlo by vás zajímat
Flexibilní displej
Apple Watch se skládají z řady větších i menších části. Součástí těla hodinek jako takového je samozřejmě dotykový displej, k tělu hodinek se pak dají připevnit vyměnitelné řemínky. V této podobě známe Apple Watch řadu let a jen těžko si umíme představit, že by chytré hodinky od Applu mohly vypadat jinak. Patent z roku 2017 ale napovídá tomu, že by se Apple teoreticky mohl pokusit podobu svých Apple Watch změnit. U budoucích generací Apple Watch by mohlo dojít ke sloučení těla hodinek a řemínku v jeden jediný displej.
Detekce hladiny krevního cukru
Senzory jsou klíčovými prvky u Apple Watch. Ty stávající slouží především k měření srdečního tepu a případné detekci jeho nepravidelnosti. Podle dostupných zpráv ale firma Apple také pracuje na vývoji neinvazivního nástroje pro měření hladiny krevního cukru. Tato unikátní technologie získala svůj patent v průběhu loňského roku a k detekci nízké hladiny krevního cukru měla umět využívat speciální čidla, která umí zachytit jisté složky v potu uživatele, charakteristické právě pro nízký krevní cukr. Apple Watch, vybavené tímto senzorem, by pak svého nositele mohly včas upozornit na riziko hypoglykémie.
Fotoaparát
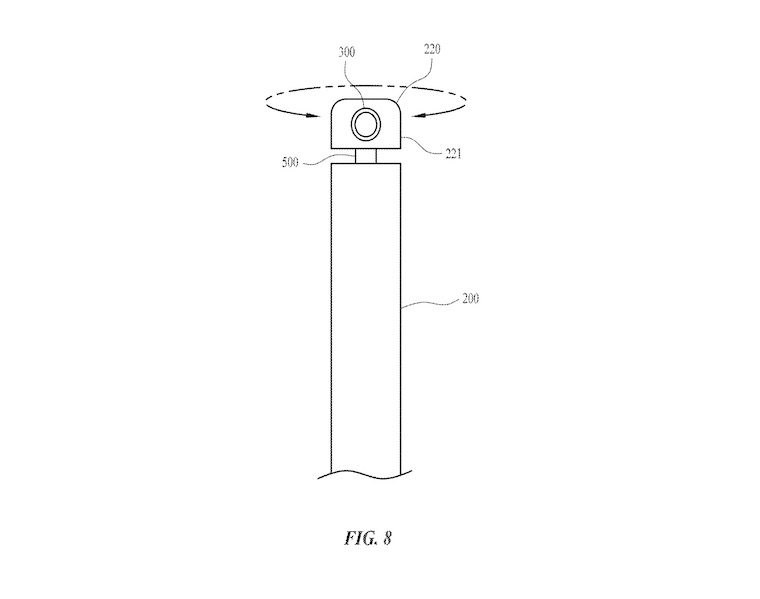
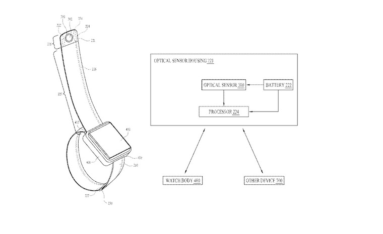
Co se fotografování týče, slouží zatím Apple Watch maximálně jako dálkový ovladač k fotoaparátu ve vašem iPhonu. Patenty z minulosti ale napovídají tomu, že si Apple přinejmenším pohrává s myšlenkou na to, že by Apple Watch dostaly svou vlastní kameru. Dechberoucí snímky s ní s největší pravděpodobností nepořídíte, pro videohovory FaceTime by ale mohla být dostačující. Fotoaparát by dokonce nemusel nijak ovlivnit vzhled nebo rozměry těla hodinek, protože by mohl být umístěn na speciálně upraveném řemínku. V souvislosti s upravenými a vylepšenými řemínky k Apple Watch se hovoří také o možnosti zakomponování funkce Touch ID.
Řemínky s vylepšeným zapínáním
Způsob, jakým své Apple Watch nosíme – respektive jakým je zapínáme – je důležitější, než si mnohdy myslíme. Míra a pevnost utažení řemínku našich hodinek má mimo jiné klíčový vliv na přesnost, s jakou budou probíhat nejrůznější měření. Pro běžného uživatele není utažení řemínku jeho hodinek ničím složitým. Uživatelé s nejrůznějšími typy handicapů – a ostatně nejenom oni – by ale jistě ocenili „samoutahovací“ řemínky Apple Watch. Příslušnou technologii si již společnost Apple stihla nechat patentovat. Nechme se překvapit, zda se nakonec stane také realitou.
Gesta s digitální korunkou
Přestože by se na první pohled mohlo zdát, že se toho s digitální korunkou Apple Watch kromě navigace v menu moc dělat nedá, opak je pravdou. Důkazem je například vylepšená korunka u Apple Watch Series 4, u které Apple zavedl senzor, s jehož pomocí lze pořídit záznam EKG. Počátkem letošního roku se ale objevil nový patent, související s digitální korunkou. Tento patent se zaměřuje na další vylepšení jejího povrchu. Uživatelé by v rámci tohoto vylepšení mohli mít širší možnosti ovládání svých hodinek včetně nejrůznějších gest.
Modulární Apple Watch
Dovedete si představit, že by chytré hodinky od Applu byly modulární? Samozřejmě, jistou modularitu představuje možnost výměny řemínků. Apple chce ale dost možná modularitu svých chytrých hodinek posunout na zcela novou úroveň. Jeden z patentů, který si cupertinská společnost nechala zaregistrovat, popisuje totiž možnosti připojení různých doplňků k tělu hodinek – jednat by se mohlo o komunikační rozhraní, ovladače, přídavné senzory, ale třeba také baterie nebo konektory.
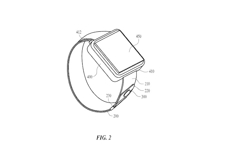
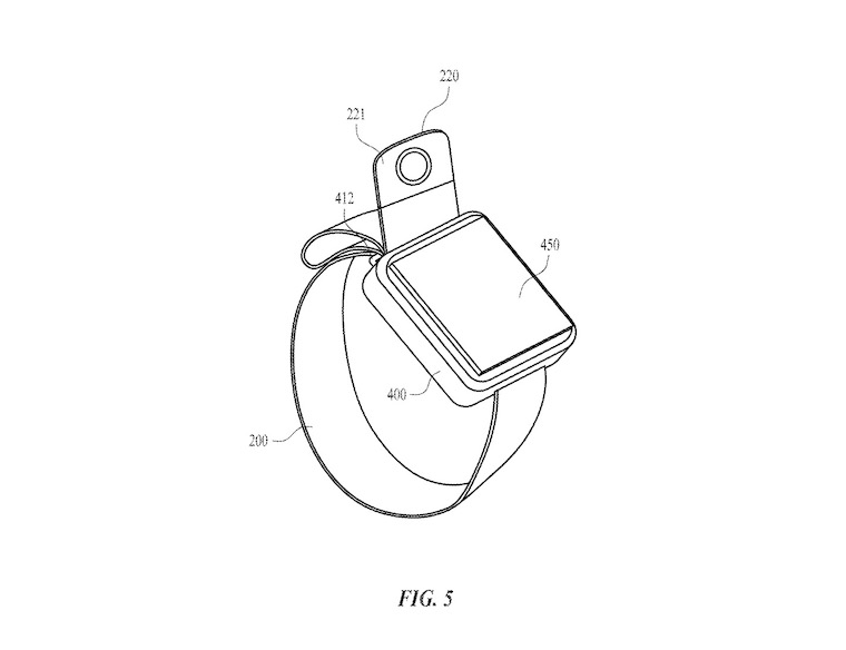
Dobíjení kdekoliv
Baterii svých Apple Watch můžete dobít během relativně krátké doby. Vždy je k tomu ale zapotřebí odpovídající nabíječka, případně adaptér. Výdrž baterie Apple Watch se sice postupem času zlepšuje, dobíjení se ale nevyhneme. Je ale dost možné, že budeme moci v budoucnu své chytré jablečné hodinky dobíjet také pomocí přídavné baterie, která by mohla být součástí vylepšeného řemínku Apple Watch. Část takového řemínku by procházela pod zadní částí těla hodinek a umožňovala tak jejich dobíjení, aniž byste své Apple Watch museli sundavat ze zápěstí.
Kruhový design
Na obdélníkový displej Apple Watch jsme již zvyklí, a asi jen málokdo z nás si umí své chytré jablečné hodinky představit s displejem jiného typu. Chytré hodinky s kruhovým displejem ale existují a vypadají vcelku dobře. Vypadá to ale, že bychom se v budoucnu mohli dočkat i Apple Watch s kulatým ciferníkem. Napovídají tomu patenty z roku 2018, kdy si společnost Apple nechala registrovat technologii, zaručující větší efektivitu pixelů díky kruhovému displeji. Ten by v případě použití u Apple Watch mohl disponovat pokročilejšími technologiemi a funkcemi.
„Eko“ senzory
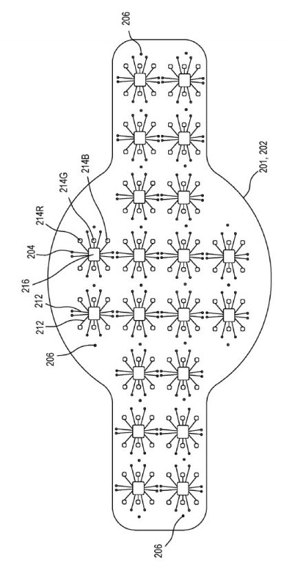
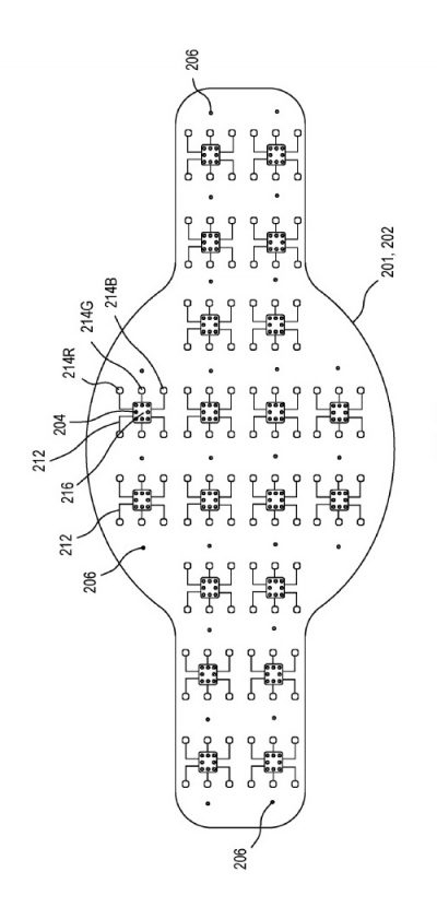
Zatímco některé patenty si umíme vcelku realisticky představit v praxi, jiné působí trochu jako z žánru sci-fi. Mezi ty hůře představitelné patenty patří ty, které popisují takzvané „environmentální senzory“. Jedná se o čidla, která disponují schopností detekovat v okolním prostředí případné škodlivé a závadné látky. Tato čidla by mohla nositele Apple Watch upozornit například na příliš vysokou hladinu oxidu uhličitého nebo vysokou úroveň ozonu, případně na částice ve vzduchu.
Upgrade že starších by byl zajímavý jen v případě, že vymyslí baterku s týdenní vydrží.
Na co tydenni vydrzi? Uz i ted dvou denni je az az. Stejne vecer ty hodinky da kazdy na nabijecku…
Třeba na to, když jde někdo do terénu… Nehledě na to, že 2 denní výdrž je výsměch a to necvičím, pouze je používám jako hodinky. Přes noc je opravdu nenechávám nabíjet, ale měřím si spánkové frekvence, ne že bych to nutně potřeboval.
Konkurence nabízí už několikadenní výdrž a např. solární panel v LCD který hodinky zároveň nabíjí.
Mám nyní 5tky, moje první AW, jinak moje druhé Smartky. Po přechodu od konkurence prostě paráda, až na tu výdrž, kterou jsem měl u konkurence týdenní (slovy sedm dní!).
Ano měli několika denní výdrž, ale taky uměli prd. Prostě si buď zvykni na nabíjení, ale budeš mít funkce. A nebo nebudeš mít funkce, ale výdrž. Nebo mi řekni jediné hodinky s funkcemi jako AW, které mají alespoň týdenní výdrž? Žádný neřekneš..
Osobne mi prijde lepsi pristup Xiaomi, Fitbit oproti iWatch.
Xiaomi naramky a hodinky jsou defacto jenom display a senzorboxy, veskera logika a chytrost je v SW v telefonu, kteey s sebou stejne taham.
Kombinace naramek+telefon toho umi jeste vic nez samotne iWatch, stoji to petikilo a vydrzi nabite mesic. S fitbit pay zaplatim stejne jako s iWatch.
Nevyhoda je, ze na kole musim mit telefon v sedlove brasne, coz mam tak jako tak.
Dvoudenní výdrž? 😂 😂 😂 A že je to až, až? 😂 😂 😂 To nemá smysl dále komentovat.
Stejně to máš navázaný na telefon, kterej ti nevydrží ani 2 dny :D Takže když už seš v tom „terénu“, tak musíš dobít mobil, není takovej problém u stejný zásuvky rovnou dobít hodinky ne? :D
Joudo ty si fakt jouda, iwatch ani neexistují
Tak kruhový design by byla ta nejhorší věc co by se mohla stát. Nevím proč by někdo z 1 na trhu smart watch dělal kroky zpět.
Taky si říkám, že kulaté nikdy, byť jsem se byl podívat na Samsung Active 2, které mě zaujaly a ten kulatý design tam byl OK.
Ale hranaté digitálky jsou tady s námi od nepaměti, navíc smartky, nejen jako jsou AW přímo vybízí k obdélníkovému displeji.
btw: Tady se to jmenuje „Letem světem Samsungem?“, všude tady na mě čumí reklamy na Samsung FUJ! To bych grcal, jak je to tady vytapetované samou reklamou. Kdyby redakce měla alespoň svoje články, ale toto jsou jen dřisty z jinych stranek v AJ přeložené…..
Notch, to je to co AW chybi k dokonalosti. A jeste mene kvalitni safirovy sklo, aby to slo poskrabat jenom pohledem