Zavřít reklamu

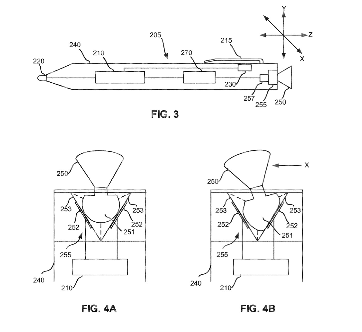
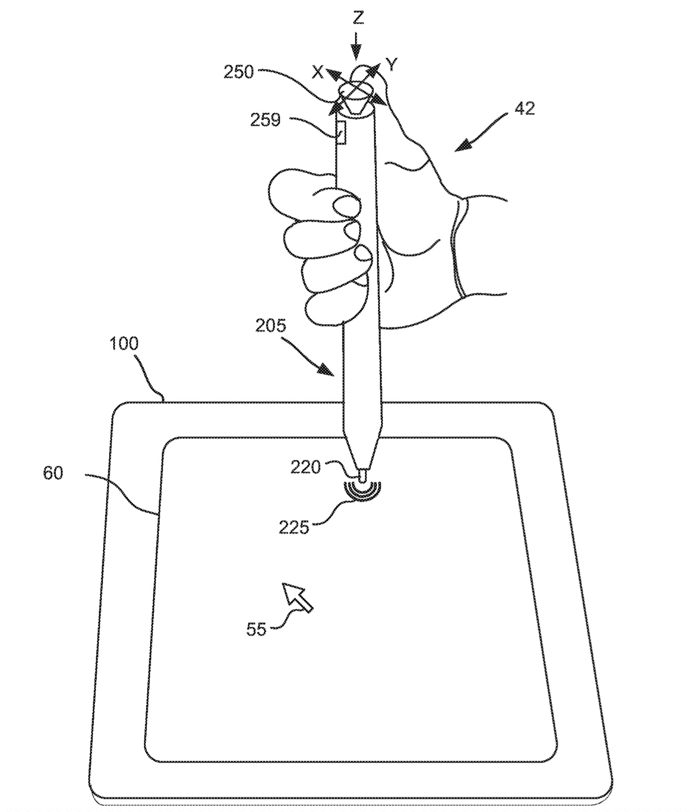
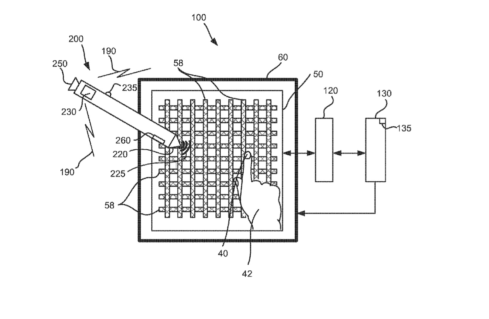
Microsoft si koncem května tohoto roku nechal patentovat nový multifunkční stylus , který vypadá opravdu zajímavě. kromě klasického psaní či kreslení na displej zařízení bude pero obsahovat i jakýsi joystick umístění ve své vrchní části. Z nákresů, které vidíte níže, je patrné, že se touto páčkou bude ovládat kurzor myši zařízení. Se stylusem tak už nebude vůbec nutné používat klasickou myš či touchpad. Navíc nebude nutné se pohybovat právě přímo po dotykovém zařízení či touchpadu, ale kdekoliv jinde, díky bezdrátovému přenosu informací mezi perem a zařízením.

microsoft-fb

Více bleskovek

.