Chytré hodinky Apple Watch patří mezi zařízení, která nám mohou velmi usnadnit každodenní život. Díky nim nemusíme například pro zobrazení zpráv sahat hned po našem iPhonu, ale pohodlně vše zkontrolujeme přes displej hodinek. Apple si je obliby svých hodinek velmi dobře vědom a proto alespoň dle patentů neustále přemýšlí, jak je po softwarové i hardwarové stránce vylepšit. To potvrzuje i patent zveřejněný před pár dny.
Mohlo by vás zajímat
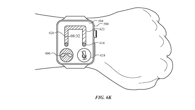
Patent nese označení „interakce s elektronickým zařízením pomocí fyzického pohybu“ a jak z názvu vyplývá, v budoucnu bychom mohli být schopni hodinky ovládat pomocí různých pohybů, které by hodinky zaznamenávaly a spouštěly dle nich určité funkce. Díky tomu bychom tak mohli pouhými pohyby například zvolit různé položky, které by se v současném okamžiku nacházely na samotném displeji. Díky tomuto by uživatel nemusel téměř vůbec používat svou druhou ruku a pro ovládání hodinek by si vystačil s tou, na které se jeho Apple Watch nacházejí.
Prohlédněte si popsané snímky zveřejněné spolu s patentem v galerii níže:
Na nákresech patentu je podrobně zobrazeno, jak bychom se k hodinkám museli v danou chvíli chovat. Při příchozím hovoru bychom museli naklánění dostat pomyslnou kuličku do správné dírky a následně chvíli vyčkat pro potvrzení volby. Na stejném principu by fungovalo například i přijímání hovorů, kdy uživatel může přijmout hovor, aniž by se vůbec podíval na displej. Stačilo by pouze provést pár pohybů, čímž by došlo k příjmutí hovoru.
Mohlo by vás zajímat
Jak je však u Applu zvykem, zveřejňuje nemalý počet patentů, které bohužel světlo světa nikdy nespatří. Zdali se tohoto „vylepšováku“ dočkáme je zatím ve hvězdách, avšak jeho realizace by až natolik složitá být neměla. Apple Watch již nyní obsahují všechny potřebné senzory, které jsou nutné ke správné funkčnosti tohoto patentu. Jediné, co by se muselo změnit, je implementovat danou funkci do samotného systému watchOS, který by se následně o vše potřebné postaral za nás. Není tomu však poprvé, kdy Apple zvažuje využití gest pro své jablečné hodinky. Roku 2016 došlo k registraci patentu, který by přidal detektory pro zjištění změn polohy zápěstí a tvaru ruky.
Ak teda budú v budúcnosti ľudia robiť ľavou rukou / hlavne / divné pohyby, tak to nie sú psychopacienti ale ovládajú Apple Watch :)
:-D kazdopadne jsem zvedavy az budeme delat akrobaticke pohyby v aute :-D tak se asi 80% lidi vymele do skarpy nez zvedne telefon pres hodinky :-D