Zavřít reklamu

Společnost Apple před pár dny podala k americkému patentovému úřadu velmi zajímavou přihlášku. Patent pojednává o pozoruhodné vlastnosti autonomních vozidel. Popisuje totiž schopnost více vozidel s vlastním pohonem sdílet kapacitu baterie prostřednictvím jakési „spojovací paže“, dynamicky upravovat polohu vozidel a zvyšovat tak dojezd automobilů. Apple v patentu uvádí, že systém Poleton, což je rozuměno jako konvoj autonomních vozidel, by fungoval s minimálně dvěma autonomními vozy. Ale čím více vozidel, tím lépe. Vozy by se za sebou seřadily do řady, čímž by se rovněž zlepšila aerodynamika, kdy v čele konvoje by byl vůz s nejvíce dobitou baterii. Auta za ním by pak nemusela čelit tak značnému odporu vzduchu a zvýšila by tak svůj dojezd. Text patentové přihlášky tento systém, i když opět poněkud zmateně, vysvětluje:

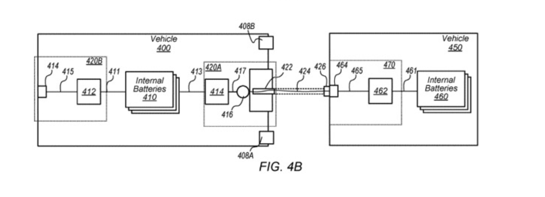
„Vozidlo by bylo konfigurované pro autonomní navigaci poletonu. Poleton zahrnuje vozidlo s minimálně jedním dalším vozidlem. První vozidlo je konfigurováno tak, aby určovalo polohu ostatních vozidel v poletonu. Vozidla mohou dynamicky měnit polohu tak, aby rozestupy mezi nimi byly co nejmenší kvůli možnosti spojení baterie spojovací paží k jinému vozidlu v pelotonu. Rozdíly dojezdu jednotlivých vozů by tedy mohly být dorovnány. Rovněž by bylo možné, aby se vozy v těsné blízkosti spojily konektory a vozy tak mohly propojit svá uživatelská rozhraní. “ V další části patentu poté popisuje funkci spojovacího ramene mající za úkol sdílet energii mezi vozidly. Rameno by mělo být umístěno v karoserii vozu a v případě potřeby jednoduše vyjet ven. Nutno dodat, že Apple podepisuje velké množství patentů, z nichž se většina nikdy nezrealizuje. Ač výše zmíněný popis může znít senzačně, jedná se o prozatím opravdu velké sci-fi.

Grafické znázornění patentové přihlášky:

Apple v poslední době poměrně hojně přihlašuje patenty, které popisují funkci autonomních vozidel nebo jejich software. Pře pár dny se objevila patentová přihláška ohledně cestování, kdy systém na základě vámi zvoleného cíle cesty hledá v lokalitě relevantní informace o otevíracích dobách restaurací apod. Dále v téhle přihlášce byla zmínka o možnosti sdílet cestovní údaje s jinými vozy nebo zařízeními. Například pokud by uživatel jel navštívit známého, tak se mu na iPhonu ukáže, že za ním někdo zrovna jede.

apple-car-tim-cook

Dnes nejčtenější

.