Vydá-li společnost Apple své vozidlo, mohlo by naprosto změnit pohled na řízení. Podobně, jako iPhone změnil pohled na mobilní telefony. Americký patentový úřad zveřejnil patent, který byl přihlášen v březnu letošního roku. Patent popisuje, jak se automobil může pohybovat v prostředí na základě mnoha jím snímaných faktorů.
Senzorové zařízení umístěné na přední straně kabiny vozu by mohlo údajně sledovat tělesnou a fyzickou aktivitu osob v autě. Tato technologie by měla zahrnovat zařízení pro detekci světla, hloubkové kamery a infračervené senzory. Vše by mělo být užito ke snímání pohybu očí, gest, postojů těla, pot, polohy hlavy atp. Shromážděná data mohou být využita k nastavení správného „Komfotního profilu“.
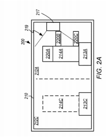
Takhle vypadá jeden z konceptů interíeru autonomního vozidla:
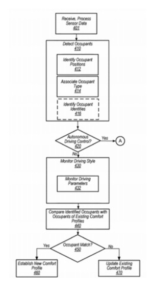
Komfortní profil určí způsob, jakým má být vozidlo poháněno a systém následně dokáže měnit řadu nastavení takovým způsobem, který bude pro cestujícího nejkomfortnější. Jedná se například o rychlost otáček motoru, rychlost vozu nebo přejíždění do jiných pruhů. Jelikož systém sbírá data o cestujícíh v reálném čase, jízdní profil může být kdykoli změněn. Zaznamená-li systém například u cestujícího stres, nastaví jízdu do pomalejšího režimu a pokusí se tento stres odstranit.
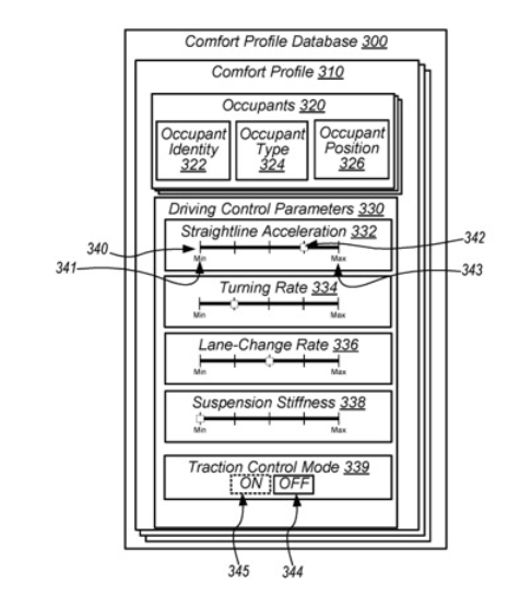
Grafické vyobrazení zmíněného patentu:
Popis technologie je jistě zajímavý. Otázkou je, zda bude tenhle patent někdy v budoucnu použit. Společnost Apple podává pravidelně mnoho žádostí o různorodé patenty na patentový úřad. Většina z nich ale nikdy využita nebude. Až čas ukáže, zda se dočkáme v budoucnu podobného autonomního navigačního systému.
No jestli bude mít stejně fungující OS jako je os11 tak abychom vůbec někam s nim dojeli…